| ГЛАВНОЕ |
СТАНДАРТЫ ГОСТ 10667-90ГОСТ 10667-90 Стекло органическое листовое. Технические условияКатегории ГОСТ 10667-90 по ОКС: 83. Резиновая, резинотехническая, асбесто-техническая и пластмассовая промышленность 83.140 Резиновые и пластмассовые изделия 83.140.20 Слоистые листы Коды документа ГОСТ 10667-90: Код ОКП: 221620 Код КГС: Л27 Код ОКСТУ: 2216 ГРНТИ индекс(ы): 613531 Статус документа: действует, введён в действие 01.07.1991 Название на английском языке: Sheet organic glass. Specifications Число страниц: 35 Настоящий стандарт распространяется на листовое органическое стекло, представляющее собой пластифицированный и непластифицированный полимер метилового эфира метакриловой кислоты или его сополимера, изготовляемое для нужд народного хозяйства и экспорта. Листовое органическое стекло предназначается для остекления самолетов и вертолетов и в качестве конструкционного материала для машино-, судо-, приборостроения и других отраслей промышленности.
|
|||||||||||||||||||||||||||||||||||||||||||||||||||||||||||||||||||||||||||||||||||||||||||||||||||||||||||||||||||||||||||||||||||||||||||||||||||||||||||||||||||||||||||||||||||||||||||||||||||||||||||||||||||||||||||||||||||||||||||||||||||||||||||||||||||||||||||||||||||||||||||||||||||||||||||||||||||||||||||||||||||||||||||||||||||||||||||||||||||||||||||||||||||||||||||||||||||||||||||||||||||||||||||||||||||||||||||||||||||||||||||||||||||||||||||||||||||||||||||||||||||||||||||||||||||||||||||||||||||||||||||||||||||||||||||||||||||||||||||||||||||||||||||||||||||||||||||||||||||||||||||||||||||||||||||||||||||||||||||||||||||||||||||||||||||||||||||||||||||||||||||||||||||||||||||||||||||||||||||||||||||||||||||||||||||||||||||||||||||||||||||||||||||||||||||||||||||||||||||||||||||||||||||||||||||||||||||||||||||||||||||||||||||||||||||||||||||||||||||||||||||||||||||||||||||||||||||||||||||||||||||||||||||||||||||||||||||||||||||||||||||||||||||||||||||||||||||||||||||||||
|
Марка |
|
|
Стекло органическое непластифицированное |
СО-120-А; СО-120-К |
|
Стекло органическое пластифицированное |
СО-95-А; СО-95-К |
|
Стекло органическое сополимерное |
СО-133-К |
Условное обозначение марки состоит из начальных букв названия «Стекло органическое» - СО, последующих цифр, указывающих значение температуры размягчения, и буквы, обозначающей область применения стекла:
А - авиационное - для остекления самолетов и вертолетов;
К - конструкционное - для машино-, судо-, приборостроения и других отраслей промышленности в качестве конструкционного материала.
1.2.2. Органическое стекло должно изготовляться в виде листов прямоугольной формы с обрезанными краями линейных размеров и номинальных толщин, указанных в табл. 2 и 3.
Таблица 2
|
Длина, мм |
Метод испытания |
|||
|
Номин. |
Пред. откл. |
Номин. |
Пред. откл. |
|
|
400 |
+50 |
500 |
+50 |
По п. 3.2 |
|
500 |
+50 |
650 |
+50 |
|
|
700 |
+100 |
800 |
+100 |
|
|
850 |
+100 |
950 |
+100 |
|
|
1000 |
+100 |
1100 |
+100 |
|
|
1100 |
+100 |
1100 |
+100 |
|
|
1100 |
+100 |
1200 |
+100 |
|
|
1150 |
+100 |
1250 |
+100 |
|
|
1400 |
+100 |
1600 |
+100 |
|
1.2.3. По согласованию с потребителем допускается изготовлять органическое стекло в виде необрезанных листов (с наличием прокладочного материала). У необрезанных листов и при технологической обрезке допускается непрямолинейность сторон листов, при этом предельные отклонения размеров не должны превышать указанных в табл. 2.
1.2.4. Допускается изготовлять листы с одним обрезанным углом и закругленными углами. Длина среза не должна превышать 200 мм, длина хорды закругления - не более 100 мм.
Таблица 3
мм
|
Пред. откл. для стекла размерами |
Метод испытания |
||
|
до 1150×1250 |
1400×1600 |
||
|
0,8; 1,0 |
±0,30 |
- |
По п. 3.2 |
|
1,5; 2,0; 2,5 |
±0,35 |
- |
|
|
3,0 |
±0,5 |
- |
|
|
4,0 |
±0,55 |
±0,70 |
|
|
5,0 |
±0,60 |
+1,00 |
|
|
-0,65 |
|||
|
6,0 |
±0,65 |
+1,00 |
|
|
-0,65 |
|||
|
7,0; 8,0 |
±0,75 |
+1,00 |
|
|
-0,65 |
|||
|
10,0 |
±0,85 |
+1,00 |
|
|
-0,65 |
|||
|
12,0 |
±0,85 |
+1,15 |
|
|
-0,90 |
|||
|
14,0 |
±1,00 |
+1,35 |
|
|
-1,00 |
|||
|
16,0 |
±1,00 |
±1,50 |
|
|
18,0 |
±1,00 |
±2,00 |
|
|
20,0; 22,0; 24,0 |
±2,00 |
±2,00 |
|
|
26,0; 28,0; 30,0 |
±2,00 |
- |
|
Примечание. Органическое стекло марки СО-133-К номинальных толщин 0,8 - 2,5 мм и 24 мм и выше не изготовляют.
1.2.5. По согласованию с потребителем допускается изготовлять листовое органическое стекло других размеров.
1.2.6. Разнотолщинность (разность между максимальным и минимальным значениями измерения толщины) по всей поверхности листа органического стекла не должна превышать предельных отклонений по толщине.
Пример условного обозначения листового органического стекла для остекления самолетов непластифицированного толщиной 10 мм, шириной 1000 мм и длиной 1100 мм:
Листовое органическое стекло
СО-120-А 10×1000×1100 ГОСТ 10667
То же, конструкционного листового органического стекла пластифицированного толщиной 10 мм, шириной 1000 мм и длиной 1100 мм:
Листовое органическое стекло
СО-95-К 10×1000×1100 ГОСТ 10667
1.2.7. По общесоюзному классификатору промышленной и сельскохозяйственной продукции коды ОКП для каждой марки и толщины листового органического стекла приведены в приложении 1.
1.3. Характеристики
1.3.1. Для изготовления листового органического стекла марки СО-120-А толщиной до 8 мм включительно и марок СО-120-К, СО-95-А, СО-95-К, СО-133-К должен применяться метилметакрилат с массовой долей основного вещества не менее 99,8 %; для марки СО-120-А толщиной 10 мм и более должен применяться метилметакрилат с массовой долей основного вещества не менее 99,9 %.
1.3.2. По внешнему виду органическое стекло должно соответствовать требованиям табл. 4.
Таблица 4
|
Значение на 1 м2 листа |
|||
|
для всех марок А толщиной до 18 мм |
для всех марок К толщиной до 18 мм |
для всех марок толщиной 20 мм и выше |
|
|
1. Посторонние включения в разбросанном виде, шт., не более, размером: |
|||
|
до 1,0 мм |
7 |
8 |
9 |
|
св. 1,0 до 2,0 мм включ. |
Не допускаются |
3 |
7 |
|
2. Царапины негрубые в разбросанном виде, шт., не более, длиной, мм: |
|||
|
до 30 включ. |
7 |
7 |
9 |
|
св. 30 до 60 включ. |
3 |
3 |
6 |
|
св. 60 |
Не допускаются |
6 |
|
|
3. Царапины грубые |
Не допускаются |
||
|
4. Ворсинки в разбросанном виде, шт., не более, длиной: |
|||
|
до 3 мм |
7 |
10 |
7 |
|
св. 3 до 5 мм включ. |
Не допускаются |
7 |
|
|
5. Прозрачные точки в разбросанном виде диаметром, не более: |
|||
|
1,0 мм |
Допускаются |
||
|
св. 1,0 до 1,5 мм включ. |
Не допускаются |
Допускаются |
|
|
6. Волосяные царапины, но не в виде сплошной сетки |
Допускаются |
||
|
7. Лунки, свиль, волнистость, полосность |
Не допускаются, если эти дефекты выводят лист за пределы норм по оптическим искажениям |
||
|
8. Пузыри, поверхностные наплывы, отпечатки трещин силикатного стекла, формовая матовость |
Не допускаются |
||
|
9. Щербины, зазубрины, сколы в кромке листа по месту резки длиной более 4 мм |
Не допускаются |
||
Примечание. Термины показателей внешнего вида и их определения приведены в приложении 2.
1.3.3. По оптическим искажениям все марки листового органического стекла должны соответствовать требованиям и нормам, указанным в табл. 5.
Таблица 5
|
Оптические искажения, мин, не более, для стекла размерами |
||||
|
до 1150×1260 |
1400×1800 |
|||
|
Угловое смещение |
«Игра» изображения |
Угловое смещение |
«Игра» изображения |
|
|
0,8 - 2,5 |
Не определяют |
- |
- |
|
|
3,0 - 10,0 |
5 |
2 |
6 |
2 |
|
12,0 |
7 |
2 |
8 |
2 |
|
14,0 - 18,0 |
8 |
2 |
9 |
2 |
|
20,0 - 30,0 |
9 |
2 |
- |
- |
1.3.4. По физико-механическим показателям органическое стекло должно соответствовать требованиям и нормам, указанным в табл. 6.
1.3.5. Требования безопасности
1.3.5.1. Органическое листовое стекло не является взрывоопасным продуктом и относится к горючим материалам.
Температура воспламенения - 260 °С.
Температура самовоспламенения - 460 °С.
Кислородный индекс 17 - 18 об. %.
Средства пожаротушения: вода, пена, асбестовое полотно, песок.
Показатели пожароопасности - по ГОСТ 12.1.044.
При температуре эксплуатации и хранения органическое стекло не выделяет вредных продуктов в концентрациях, опасных для организма человека.
1.3.5.2. При переработке органического стекла при температуре выше его температуры размягчения возможно выделение паров метилметакрилата. Метилметакрилат - наркотик, оказывает раздражающее действие на слизистые оболочки верхних дыхательных путей, глаз, обладает общетоксичным действием, поражает печень.
Предельно допустимая концентрация (ПДК.) паров метилметакрилата в воздухе рабочей зоны - 10 мг/м3, класс опасности - 3 по ГОСТ 12.1.005.
1.3.5.3. Листовое органическое стекло должно перерабатываться в помещениях, оборудованных приточно-вытяжной вентиляцией.
Помещение должно соответствовать санитарным нормам СН-245.
Таблица 6
|
Норма для марок |
Метод испытания |
|||||
|
СО-95-А |
СО-95-К |
СО-120-А |
СО-120-К |
СО-133-К |
||
|
1. Температура размягчения, °С, не менее, для толщин, мм: |
По ГОСТ 15088 и п. 3.5. |
|||||
|
0,8 - 4,0 |
92 |
92 |
118 |
113 |
133 |
|
|
5,0 - 8,0 |
95 |
92 |
118 |
113 |
133 |
|
|
10,0 (для ориентации) |
95 |
- |
118 |
- |
- |
|
|
10,0 и выше |
95 |
92 |
120 |
113 |
133 |
|
|
2. Ударная вязкость, кДж/м2, не менее, для толщин, мм: |
По ГОСТ 4647 и п. 3.6 |
|||||
|
2,0 - 2,5 |
11 |
- |
11 |
- |
- |
|
|
3,0 - 4,0 |
11 |
10 |
11 |
10 |
9 |
|
|
5,0 и выше |
16 |
16 |
17 |
17 |
16 |
|
|
3. Прочность при разрыве, МПа, не менее |
66,0 |
66,0 |
77,5 |
77,5 |
83,4 |
По ГОСТ 11262 и п. 3.7 |
|
4. Относительное удлинение при разрыве, %, не менее |
3,0 |
2,8 |
3,5 |
3,3 |
2,5 |
По ГОСТ 11262 и п. 3.7 |
|
5. Модуль упругости при растяжении, МПа, не менее |
2900 |
2900 |
3000 |
3000 |
3400 |
По ГОСТ 9550 и п. 3.8 |
|
6. Массовая доля остаточного мономера, %, не более |
0,9 |
1,0 |
0,9 |
1,0 |
1,8 |
По п. 3.10 |
|
7. Серебростойкость к поверхностному растрескиванию не менее: |
По п. 3.11 |
|||||
|
по дибутилфталату, ч |
24 |
24 |
24 |
24 |
- |
|
|
по ацетону, мин |
- |
- |
- |
- |
||
|
8. Коэффициент пропускания, %, не менее, для толщин, мм: |
По ГОСТ 15875 и п. 3.12 |
|||||
|
до 18,0 |
92 |
92 |
92 |
92 |
90 |
|
|
» 24,0 |
91 |
91 |
92 |
91 |
90 |
|
|
» 24,0 и выше |
90 |
90 |
90 |
90 |
- |
|
|
9. Светостойкость, %, не более |
1,5 |
2,2 |
1,5 |
2,2 |
2,5 |
По п. 3.13 |
|
10. Термостойкость |
По контрольному образцу |
По п. 3.14 |
||||
Примечания:
1. Для органического стекла марки СО-120-К толщиной 0,8 - 2,5 мм норма по показателю температура размягчения допускается не менее 108 °С, для марки СО-120-А толщиной 0,8 - 1,5 мм по согласованию с потребителем - не менее 115 °С.
2. Показатели прочность при разрыве, относительное удлинение при разрыве, модуль упругости, термостойкость для органического стекла марок СО-95-К, СО-120-К, СО-133-К толщиной до 6 мм включительно не определяют.
3. Порядок оформления контрольных образцов по термостойкости органического стекла приведен в приложении 3.
Индивидуальные средства защиты: халаты из хлопчатобумажной ткани по ГОСТ 12.4.131; ГОСТ 12.4.132, перчатки по ГОСТ 20010, защитные очки по ГОСТ 12.4.013. При концентрациях, превышающих ПДК, применяют респиратор РПГ-67А по ТУ 95-7039, в аварийных ситуациях - противогаз фильтрующий БКФ по ГОСТ 12.4.121.
1.4. Маркировка
1.4.1. На каждый упакованный лист органического стекла наклеивают ярлык с указанием:
наименования и (или) товарного знака предприятия-изготовителя или его условного обозначения;
марки органического стекла;
номера партии, номера листа и его размеров;
массы листа;
температуры размягчения для марки СО-120-А;
даты изготовления и надписи «Для ориентации» для органического стекла, предназначенного для ориентации.
На каждый ящик и пакет наносят маркировку и в каждый контейнер вкладывают ярлык с нанесением вышеуказанных данных, за исключением номера листа и его массы.
Дополнительно указывают:
массу нетто;
массу брутто (для ящиков и пакетов).
Способы нанесения маркировки, способы крепления ярлыка и краска для маркировки - в соответствии с разд. 3 ГОСТ 14192.
На транспортные пакеты маркировку наносят на соседние боковую и торцовую поверхности.
По согласованию с потребителем допускается на листы, из которых сформирован пакет, маркировку не наносить.
Допускается номер партии, номер листа, его массу, линейные размеры, толщину и дату изготовления наносить четко и разборчиво от руки при условии сохранности маркировки.
1.4.2. Транспортная маркировка - по ГОСТ 14192 с нанесением манипуляционного знака «Осторожно, хрупкое».
Продукт не опасен и по ГОСТ 19433 не классифицируется.
1.4.3. При поставке на экспорт транспортную маркировку производят в соответствии с требованиями внешнеэкономических организаций.
1.5. Упаковка
1.5.1. Листы органического стекла оклеивают с двух сторон оберточной бумагой по ГОСТ 8273 или бумагой для оклейки листовых материалов по ТУ 81-04-392, или полиэтиленовой пленкой по ТУ 6-19-151-247 или конвертуют в оберточную бумагу по ГОСТ 8273 с прокладочной папиросной бумагой по ГОСТ 3479 или конденсаторной бумагой по ГОСТ 1908.
1.5.2. Листы, упакованные по п. 5.1, помещают в деревянные ящики типов II-1, III-1 по ГОСТ 2991 или фанерные ящики типа VI по ГОСТ 5959.
На дно и под крышку ящиков помещают листы оберточной бумаги по ГОСТ 8273. Размеры ящиков - по ГОСТ 21140 или в зависимости от размеров листов.
Ящики окантовывают стальной упаковочной лентой толщиной не менее 0,3 мм по ГОСТ 3560 или по ГОСТ 503. Концы ленты скрепляют замком или просечкой.
1.5.3. Листы, упакованные по п. 5.1, помещают в универсальные контейнеры по ГОСТ 15102, ГОСТ 20435, ГОСТ 18477 с фиксацией распорками или формируют в транспортные пакеты.
Пакетирование производят на плоских деревянных поддонах по ГОСТ 22831, ГОСТ 9557, ГОСТ 26381. Допускается формирование транспортных пакетов на деревянных брусках или брусках из отходов производства оргстекла. При этом листы укладывают на бруски с применением картонных прокладок сверху и снизу пакета. Размеры пакета в плане должны соответствовать размерам листов. Остальные параметры и размеры - по ГОСТ 24597.
Пакеты скрепляют по ГОСТ 21650 металлической лентой по ГОСТ 3560 или по ГОСТ 503.
1.5.4. Листы, предназначенные для экспорта, упаковывают в соответствии с требованиями настоящего стандарта или требованиями внешнеэкономических организаций.
2. ПРИЕМКА
2.1. Листовое органическое стекло принимают партиями. За партию органического стекла принимают количество листов одной марки, одной номинальной толщины, изготовленное по одному технологическому режиму полимеризации, из одних и тех же партий мономера и сопровождаемое одним документом о качестве.
Документ должен содержать:
наименование и товарный знак предприятия-изготовителя;
наименование материала, марку, размер; температуру размягчения для марки СО-120-А;
номер партии;
массу нетто;
дату изготовления;
результаты по проведенным испытаниям или подтверждение о соответствии качества стекла требованиям настоящего стандарта;
обозначение настоящего стандарта.
2.2. Для проверки соответствия качества органического стекла требованиям настоящего стандарта устанавливаются приемосдаточные и периодические испытания.
Приемосдаточные и периодические испытания проводят в соответствии с табл. 7. Выборку осуществляют случайным образом.
Таблица 7
|
Категория испытаний |
Объем выборки |
Периодичность |
||
|
приемосдаточные |
периодические |
|||
|
1. Размеры |
+ |
- |
100 % листов |
|
|
2. Внешний вид |
+ |
- |
100 % листов |
|
|
3. Оптические искажения: для всех марок стекла толщиной от 3 до 6 мм |
- |
+ |
Одна партия каждой номинальной толщины |
1 раз в 3 мес |
|
для стекла толщиной св. 6 мм и идущего на ориентацию |
+ |
- |
100 % листов |
|
|
4. Температура размягчения для марок: СО-120-А |
+ |
- |
1 лист от партии |
|
|
СО-120-К |
- |
+ |
1 лист каждого номинального размера |
1 раз в месяц |
|
СО-95-К, СО-95-А |
- |
+ |
||
|
СО-133-К |
- |
+ |
||
|
5. Ударная вязкость |
- |
+ |
То же |
То же |
|
6. Прочность при разрыве |
- |
+ |
» |
» |
|
7. Относительное удлинение при разрыве |
- |
+ |
1 лист каждого номинального размера |
1 раз в 3 мес |
|
8. Модуль упругости при растяжении |
- |
+ |
По требованию потребителя |
|
|
9. Массовая доля остаточного мономера |
- |
+ |
1 лист каждого номинального размера |
1 раз в месяц |
|
10. Серебростойкость |
- |
+ |
То же |
1 раз в 3 мес |
|
11. Коэффициент пропускания |
- |
+ |
» |
То же |
|
12. Светостойкость |
- |
+ |
» |
» |
|
13. Термостойкость для марок, предназначенных для ориентации толщиной 5 мм и более: |
||||
|
СО-95-А |
+ |
- |
100 % листов |
|
|
СО-120-А |
+ |
- |
100 % листов |
|
|
для формования толщиной 7 мм и более: |
||||
|
СО-95-А |
+ |
- |
10 % листов |
|
|
СО-120-А |
+ |
- |
||
|
для всех марок К толщиной 8 мм и более |
- |
+ |
1 лист каждого номинального размера |
1 раз в 3 месяца |
2.3. При получении неудовлетворительных результатов испытаний хотя бы по одному из показателей по нему должны проводиться повторные испытания на удвоенном количестве листов, взятых от той же партии стекла. Результаты повторных испытаний распространяют на всю партию.
При получении неудовлетворительных результатов периодических испытаний испытания переводят в приемосдаточные до получения положительных результатов на двух партиях подряд.
3. МЕТОДЫ ИСПЫТАНИЙ
3.1. Образцы для испытания вырезают из полосы, отрезанной от одной стороны каждого листа. Допускается вырезать образцы из углов листа.
Внешний вид, толщину, разнотолщинность, оптические искажения и физико-механические свойства определяют на расстоянии не менее 40 мм от края листа.
Внешний вид, оптические искажения и термостойкость проверяют на целом листе.
3.2. Длину и ширину листов органического стекла измеряют любым измерительным инструментом с ценой деления 1,0 мм.
Контроль толщины листового органического стекла проводят любым измерительным инструментом, обеспечивающим необходимую точность измерений, предусмотренную настоящим стандартом.
3.3. Показатели внешнего вида органического стекла в соответствии с табл. 4 проверяют без применения увеличительных приборов на расстоянии 250 - 400 мм при естественном освещении или освещении лампами дневного света.
Посторонние включения и прозрачные точки измеряют любым измерительным инструментом с ценой деления 0,1 мм.
3.4. Определение оптических искажений
3.4.1. Аппаратура
Оптические искажения определяют на установке, схема которой изображена на черт. 1.

1 - проектор; 2 - объектив, на котором нанесены перпендикулярные тонкие линии; 3 - смотровой стол; 4 - испытуемый лист органического стекла; 5 - экран
Черт. 1
Расстояние от испытуемого стекла до линзы проектора должно быть от 1,5 до 2,5 м, расстояние от экрана до образца - 3,45 м. Экран представляет собой лист миллиметровой бумаги с вертикальными линиями (центральной пунктирной и сплошными боковыми), нанесенными на расстоянии 3, 6, 9, 12 мм и т.д. с каждой стороны центральной линии.
При указанном выше расстоянии между образцом и экраном каждый 1 мм отклонения проекции нити от центральной линии на экране соответствует угловому смещению 1'.
Испытуемый лист органического стекла и экрана устанавливают перпендикулярно к пучку света.
3.4.2. Проведение испытания
Изображение нити на экране фокусируют, добиваясь перемещением микрометрических винтов проектора совмещения проекции нити с пунктирной центральной линией экрана (лист органического стекла при этом не вставлен), а затем медленно продвигают лист органического стекла через проектируемый пучок.
На экране отмечают положение проекции нити.
Допускается разделять поверхность всех просматриваемых листов на зоны, равные 500 мм и более.
Угловое смещение определяют как расстояние между проекцией нити и центральной линией на экране (черт. 2, положение А).
«Игру» изображения определяют как расстояние между вершиной искривленной проекции нити и хордой (0 - 250 мм), стягивающей просматриваемый участок искривленной проекции (черт. 2, положение Б).

Черт. 2
3.5. Определение температуры размягчения
3.5.1. Температуру размягчения определяют по ГОСТ 15088 при испытательной нагрузке (50 ± 1) Н со скоростью повышения температуры 120 °С/ч. Допускается определение температуры размягчения на установке с индикатором.
При разногласиях в оценке температуры размягчения определение проводят по ГОСТ 15088.
3.5.2. Определение температуры размягчения на установке с индикатором
За температуру размягчения (Тр) принимают температуру, при которой пуансон диаметром (1,13 ± 0,01) мм под действием постоянной нагрузки (9,81 ± 0,25) Н погружается на определенную глубину в образец при его нагревании.
3.5.2.1. Отбор образцов
Для испытания применяют образцы в форме дисков диаметром (19,0 ± 0,5) мм, толщиной 4 - 10 мм, равной толщине испытуемого стекла. Если толщина стекла превышает 10 мм, ее доводят до (10,0 ± 0,5) мм механической обработкой с одной стороны, при этом испытуемую поверхность не обрабатывают.
Образцы толщиной менее 4 мм складывают в пакет толщиной 4 - 6 мм, добиваясь плотного прилегания их друг к другу. Испытания проводят на двух образцах (пакетах).
3.5.2.2. Аппаратура
Установка для определения температуры размягчения (черт. 3).
Индикатор типа ИЧ-10 с ценой деления 0,01 мм по ГОСТ 577.
Термометр с ценой деления не более 1 °С.
Термостат, обеспечивающий поддержание температуры с погрешностью ±3 °С.
Допускается использование другой аппаратуры, метрологические характеристики которой не уступают метрологическим характеристикам вышеперечисленной аппаратуры.
3.5.2.3. Подготовка к испытанию
Перед испытанием образцы выдерживают на подложке из силикатного стекла в термостате в течение (20 ± 5) мин при температуре на 15 - 20 °С выше ожидаемой температуры размягчения. Образцы охлаждают в выключенном термостате с закрытыми дверцами до температуры не выше 40 °С. Затем образцы помещают в гнезда установки и уплотняют фольгой по периметру.

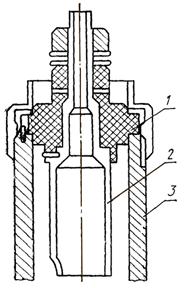
1 - термометр; 2 - нижняя плита; 3 - верхняя плита; 4 - кожух; 5 - стойка; 6 - держатель индикатора; 7 - индикатор; 8 - упор индикатора; 9 - груз; 10 - площадка груза; 11 - направляющая втулка; 12 - шток; 13 - пуансон; 14 - образец; 15 - нагреватель
Черт. 3

Черт. 4
3.5.2.4. Проведение испытания
Образец нагружают. Через (1,0 ± 0,1) мин после приложения нагрузки (9,81 ± 0,25) Н, включающей массу груза, штока с площадкой, пуансона и усилия индикатора, измеряют деформацию образца по индикатору при температуре (23 ± 5) °С. Затем нагрузку снимают, включают обогрев и поднимают температуру со скоростью 1,5 - 2,0 °С/мин до температуры на 10 - 20 °С ниже ожидаемой температуры размягчения. Образец выдерживают при этой температуре в течение (10,0 ± 0,2) мин, прикладывают нагрузку и измеряют деформацию образца через (1,0 ± 0,1) мин после приложения нагрузки; нагрузку снимают. Аналогично проводят последующие измерения деформации через каждые (5 ± 1) °С при средней скорости подъема температуры 1 °С/мин (60 ± 5) °С/ч.
Испытания заканчивают, когда разность деформации при температуре (23 ± 5) °С и температурах, при которых проводят измерения деформации в процессе нагрева, составит не менее 1,2 мм. По результатам испытания строят график зависимости разности деформации от температуры (черт. 4).
На участке резкого подъема кривой проводят касательную до пересечения с осью абсцисс. Точка пересечения показывает температуру размягчения.
Кривые для двух образцов одного определения строят на одном графике.
За результат испытания принимают среднее арифметическое значений температур размягчения двух образцов с округлением до целого числа.
Суммарная погрешность при доверительной вероятности 0,95 не должна превышать 2 °С, а допускаемые расхождения параллельных определений должны быть не более 2 °С.
3.6. Ударную вязкость определяют по ГОСТ 4647 на пяти образцах 1 и 3-го типов без надреза.
3.7. Прочность при разрыве и относительное удлинение при разрыве определяют по ГОСТ 11262 на образцах типа 2 со скоростью раздвижения захватов машины (5 ± 1) мм/мин.
3.8. Модуль упругости при растяжении определяют по ГОСТ 9550 на образцах типа 2 по ГОСТ 11262.
3.9. Испытание и кондиционирование образцов для определения показателей по пп. 3.6 - 3.8 проводят при температуре (23 ± 2) °С, кондиционирование - не менее 3 ч.
Механическую обработку образцов до требуемой толщины проводят с одной стороны.
3.10. Определение массовой доли остаточного мономера
3.10.1. Определение массовой доли остаточного мономера методом бромирования в органическом стекле марок СО-95-А, СО-95-К, СО-120-А, СО-120-К
3.10.1.1. Посуда, реактивы, растворы
Колбы Кн-2-500-29/32 ТС и Кн-2-750-29/32 ТС по ГОСТ 25336 и 2-1000-2 по ГОСТ 1770.
Воронка ВК-50ХС по ГОСТ 25336.
Бюретка 2-25-0,1 по ГОСТ 20292.
Пипетки 2, 3, 6, 7-1-25 по ГОСТ 20292.
Цилиндр 1-25 по ГОСТ 1770.
Капельница 2-25 ХС по ГОСТ 25336.
Калий бромистый по ГОСТ 4160.
Калий бромноватокислый по ГОСТ 4457.
Кислота соляная по ГОСТ 3118.
Вода дистиллированная по ГОСТ 6709.
Натрий серноватистокислый (тиосульфат натрия), раствор концентрации с (Na2S2O3 · 5H2O) = 0,01 моль/дм3 (0,01 н.) по ГОСТ 25794.2.
Кислота уксусная ледяная по ГОСТ 61.
Крахмал растворимый по ГОСТ 10163, раствор с массовой долей 0,5 %.
Калий бромноватистокислый (калий бромидбромат), раствор концентрации с (1,6 K2BrO3) = 0,02 моль/дм3 (0,02 н.) по ГОСТ 25794.2.
Калий йодистый по ГОСТ 4232, раствор с массовой долей 10 %.
3.10.1.2. Проведение испытания
0,5 - 1,0 г стружек органического стекла, приготовленных непосредственно перед испытанием, помещают в сухую колбу вместимостью 250 см3, добавляют пипеткой 50 см3 ледяной уксусной кислоты и оставляют для растворения на 10 - 12 ч.
После растворения в колбу постепенно при взбалтывании приливают около 50 см3 дистиллированной воды для осаждения полимера.
Раствор сливают с осадка полимера через воронку с шифоном в колбу для бромирования вместимостью 500 см3 с пришлифованной пробкой и капельной воронкой. Полимер, оставшийся в колбе, промывают 25 см3 разбавленной уксусной кислотой (1:1) и несколькими порциями дистиллированной воды.
Промывные воды собирают в ту же колбу. Общее количество фильтрата и промывных вод должно быть 250 см3. В колбу добавляют пипеткой 25 см3 раствора бромид-бромата и через капельную воронку приливают 5 см3 соляной кислоты. Содержимое колбы перемешивают и ставят в темное место на 20 мин, после чего добавляют через капельную воронку 5 см3 раствора йодистого калия. После перемешивания выделившийся йод оттитровывают раствором серноватистокислого натрия, в качестве индикатора используют раствор крахмала. Параллельно проводят контрольный опыт.
3.10.1.3. Обработка результатов
При вычислении процентного содержания метилметакрилата учитывают бром, расходуемый на бромирование салола (для марок СО-120-А и СО-120-К).
Общее бромное число (X) в процентах вычисляют по формуле
где V - объем раствора концентрации точно с (Na2S2O3 • 5Н2О) = 0,01 моль/дм3 (0,01 н.) серноватистокислого натрия, израсходованный на титрование контрольного раствора, см3;
V1 - объем раствора концентрации с (Na2S2O3 · 5H2O) = 0,01 моль/дм3 (0,01 н.) серноватистокислого натрия, израсходованной на титрование анализируемого раствора, см3;
m - масса навески стекла, г;
0,0008 - массовая концентрация брома, соответствующая 1 см3 раствора серноватистого натрия концентрации точно 0,01 моль/дм3, г/см3.
Массовую долю остаточного мономера (Х1) в процентах вычисляют по формуле
где а - бромное число салола, содержащегося в стекле;
1,6 - отношение молекулярной массы брома и метилметакрилата (160/100).
Зависимость бромного числа салола от его массовой доли в органическом стекле приведена в табл. 8.
Таблица 8
|
Номинальная толщина стекла, мм |
Бромное число салола |
|
|
0,5 |
0,8; 1,0; 1,5; 2,0; 2,5; 3,0; 4,0 |
0,74 |
|
0,4 |
5,0; 6,0 |
0,60 |
|
0,2 |
10; 12; 14; 16; 18; 20; 22; 24; 26; 28; 30 |
0,30 |
|
0,3 |
7,0; 8,0 |
0,45 |
Примечание. При другой массовой доле салола в стекле бромное число вычисляют из расчета бромного числа 100 %-ного салола, равного 149,3.
За результат анализа принимают среднее арифметическое результатов двух параллельных определений.
Суммарная погрешность при доверительной вероятности 0,95 не должна превышать ±0,1 % при допускаемом расхождении не более 0,2 %.
Результаты параллельных определений вычисляют с точностью до второго десятичного знака, а средние арифметические значения округляют до первого десятичного знака.
3.10.2. Определение массовой доли остаточного мономера хроматографическим методом
3.10.2.1. Приборы, реактивы
Колонка стеклянная длиной 2 м диаметром 0,3 см из комплекта хроматографа.
Шприц медицинский типа «Рекорд» по ГОСТ 22967 номинальным объемом 2 см3.
Микрошприц МШ-10 номинальным объемом 0,010 см3 из комплекта хроматографа.
Пипетка 2 (6,7)-2-5 по ГОСТ 20292.
Линейка измерительная по ГОСТ 427, цена деления шкалы 1 мм.
Стекловолокно по ГОСТ 10146.
Стекло молибденовое молотое зернением 0,25 - 0,5 мм.
Склянки с самоуплотняющейся резиновой пробкой вместимостью 10 см3.
Печь муфельная с нагревом до 1100 °С.
Весы аналитические типа ВЛА - 200 г, цена деления 0,0001 г, класс точности 2 по ГОСТ 24104.
Хроматограф «Цвет» серии 100.
Корпус детектора выполнен из титана, электрод - из дюралюминия (черт. 5).
Носитель инертный хроматон N-AW зернением 0,16 - 0,2.
Трикрезилфосфат технический по ГОСТ 5728.
Ацетон по ГОСТ 2603.
Метилметакрилат по ГОСТ 20370.
Метилен хлористый, ч. по ТУ 6-09-3716.
Гептан по ГОСТ 25828.
Толуол, ч.д.а. по ГОСТ 5789.
Стандартный раствор толуола в гептане с массовой долей до 1 %.
Водород технический марки А по ГОСТ 3022.
Азот газообразный технический по ГОСТ 9293.
Допускается применение другой аппаратуры, по метрологическим характеристикам не уступающей вышеуказанной.
3.10.2.2. Подготовка к испытанию
Хроматон N-AW прокаливают в муфельной печи при температуре 1000 °С в течение 4 ч. Растворяют в ацетоне трикрезилфосфат в количестве 20 % от массы хроматона и в полученный раствор вносят хроматон. Объем ацетона должен быть таким, чтобы покрыть всю массу хроматона. Растворитель медленно испаряют при нагревании на водяной бане при постоянном перемешивании до сыпучего состояния сорбента. Стеклянную колонку заполняют сухим сорбентом, оставляя свободным на 6 - 7 см конец колонки, входящий в испаритель, заполняют его на 2 см молотым молибденовым стеклом так, чтобы при введении пробы конец иглы микрошприца входил в слой стекла. Затем оба конца колонки закрывает тампонами из стекловолокна.

1 - изолятор; 2 - электрод; 3 - корпус
Черт. 5
Колонку устанавливают в термостат хроматографа, не подсоединяя к детектору во избежание загрязнения, и кондиционируют продувкой азотом 4 - 5 ч при температуре 90 - 100 °С. После кондиционирования колонку подсоединяют к детектору.
Подготовку прибора к анализу и вывод его на режим проводят в соответствии с инструкцией по эксплуатации прибора.
Условия проведения анализа:
температура термостата - 70 °С;
температура испарителя - 110 °С;
объем вводимой пробы - 0,6 - 1,0 мм3;
чувствительность по току - 50 - 100 · 10-12 А.
Градуируют прибор по искусственным смесям методом «добавки». Для градуировки используют «нулевую» смесь и не менее трех смесей с добавкой метилметакрилата.
Для приготовления «нулевой» смеси 0,05 г стружки стекла с массовой долей метилметакрилата (ММА) 0,3 % помещают в склянку с самоуплотняющейся пробкой, добавляют 5 см3 хлористого метилена и 0,03 г стандартного раствора толуола. Взвешивания производят с точностью до четвертого десятичного знака. После растворения стекла и тщательного перемешивания получают 3 - 4 хроматограммы «нулевой» смеси.
Затем к «нулевой» смеси добавляют метилметакрилат так, чтобы пик ММА на хроматограмме увеличивался в 2 - 4 раза. Для этого в склянку с «нулевой» смесью через пробку вводят навеску раствора ММА в гептане (массовая доля 0,5 - 0,6 %). После перемешивания получают четыре - пять хроматограмм смеси.
Поправочный коэффициент (K) вычисляют по формуле
где qдоб.ММА - массовая доля добавки ММА в искусственной смеси, %;
qтол - массовая доля толуола в искусственной смеси, %;
Hдоб.ММА, Hдоб.ММА - высоты пиков ММА и толуола на хроматограмме искусственной смеси с добавкой ММА, мм;
H0ММА, H0ММА - высоты пиков ММА и толуола на хроматограмме «нулевой» смеси (среднее арифметическое трех - четырех определений), мм.
За результат определения принимают среднее арифметическое результатов определений трех серий растворов. За серию растворов принимают растворы, приготовленные из одной «нулевой» смеси.
3.10.2.3. Проведение испытаний
0,05 - 0,06 г стружки органического стекла помещают в предварительно взвешенную склянку с самоуплотняющейся пробкой, взвешивают, туда же пипеткой добавляют 5 см3 хлористого метилена и снова взвешивают.

1 - толуол (стандарт); 2 - метилметакрилат
Черт. 6
Затем шприцем на 1 - 2 см3 через пробку добавляют 0,03 - 0,04 г стандартного раствора толуола. Полученную смесь тщательно перемешивают. После растворения стекла смесь вводят в хроматограф. Порядок выхода примесей из хроматографической колонки приведен на черт. 6.
3.10.2.4. Обработка результатов
Массовую долю остаточного мономера (XММА) в процентах вычисляют по формуле
где HММА, Hтол - высоты пиков метилметакрилата и толуола на хроматограмме испытуемой пробы, мм;
Cтол - массовая доля толуола в стандартном растворе, %;
m1 - масса стандартного раствора толуола, г;
m2 - масса испытуемого стекла, г;
K - поправочный коэффициент на ММА.
Суммарная погрешность при доверительной вероятности 0,95 не должна превышать 0,18 %, допускаемые расхождения параллельных определений - не более 0,09 %.
Результаты определения округляют до десятых долей процента.
При разногласиях в оценке массовой доли остаточного мономера определение проводят хроматографическим методом.
3.11. Определение серебростойкости
Серебростойкость (стойкость к поверхностному растрескиванию) определяют по отсутствию растрескивания органического стекла при действии на него дибутилфталата при (40 ± 2) °С для марок СО-95-А, СО-95-К, СО-120-А, СО-120-К или ацетона при (20 ± 2) °С для марки СО-133-К.
3.11.1. Реактивы и аппаратура
Ванна с обогревом.
Лампа на 75 Вт во взрывобезопасном исполнении.
Дибутилфталат по ГОСТ 8728.
Ацетон по ГОСТ 2603.
3.11.2. Проведение испытания
Испытания проводят на трех образцах размерами 50×100 мм в дибутилфталате и 50×50 мм в ацетоне толщиной, равной толщине стекла.
Образцы органического стекла помещают в ванну с дибутилфталатом при (40 ± 2) °С или ацетоном при (20 ± 2) °С. После выдержки в дибутилфталате в течение 24 ч и ацетоне в течение 20 мин образцы извлекают из ванны и просматривают в проходящем свете электролампы на расстоянии не более 40 см. При этом на поверхности образцов не должно быть мелких трещин («серебра»), которые на расстоянии до 5 мм от края образца во внимание не принимаются. Дибутилфталат, залитый в ванну, необходимо менять при появлении в нем игольчатых кристалликов.
3.12. Коэффициент пропускания определяют по ГОСТ 15875 на трех образцах размерами 100×100 мм толщиной, равной толщине стекла при источнике света А по ГОСТ 7721. За результат испытаний принимают среднее арифметическое результатов трех параллельных определений.
3.13. Определение светостойкости
Светостойкость определяют на трех образцах, испытанных по п. 3.12, после действия на них ультрафиолетового облучения в течение 50 ч.
Облучение образцов проводят ртутно-кварцевой лампой ДРТ-400. Центр освещаемой плоскости образца должен находиться на расстоянии 50 см от лампы.
Светостойкость вычисляют как разность между коэффициентами светопропускания до и после облучения.
За результат испытания принимают среднее арифметическое результатов трех параллельных определений.
3.14. Определение термостойкости
3.14.1. Термостойкость определяют на прогретых листах органического стекла.
Для разогрева органического стекла используют электронагревательный шкаф, снабженный терморегулятором и контрольными ртутными термометрами, расположенными снизу и сверху рабочего объема шкафа.
Разность температур в различных зонах шкафа не должна превышать 3 °С.
Допускается применение электронагревательных шкафов другой конструкции, обеспечивающих указанные температурные условия испытаний.
3.14.2. Листы органического стекла в вертикальном положении помещают в термошкаф и выдерживают в соответствии с режимами, указанными в табл. 9.
Таблица 9
|
Режим разогрева |
||
|
Температура нагрева, °С |
Время выдержки на каждый миллиметр толщины, мин, не менее |
|
|
СО-95-А, СО-95-К |
130 - 135 |
4 |
|
CO-120-A, СО-120-К |
145 - 150 |
4 |
|
СО-133-К |
160 - 170 |
4 |
Время выдержки отсчитывают с момента установления в термошкафу температуры термообработки после загрузки органического стекла.
После окончания термообработки листы охлаждают в термошкафах с закрытыми дверцами самопроизвольно до температуры +60 °С. Термостойкость определяют сравнением внешнего вида листов органического стекла с контрольным образцом (листом) при хорошо рассеянном естественном или искусственном свете.
4. ТРАНСПОРТИРОВАНИЕ И ХРАНЕНИЕ
4.1. Органическое стекло транспортируют железнодорожным или автомобильным транспортом в крытых транспортных средствах в соответствии с правилами перевозки грузов, действующими на данном виде транспорта.
Транспортирование в универсальных контейнерах производят на открытом подвижном составе в соответствии с техническими условиями погрузки и крепления грузов.
Транспортирование транспортными пакетами производят по ГОСТ 21929.
4.2. Листовое органическое стекло хранят в упаковке изготовителя в закрытых складских помещениях при температуре от 5 до 35 °С и относительной влажности не выше 65 %.
Не допускается совместное хранение стекла с химическими продуктами.
5. ГАРАНТИИ ИЗГОТОВИТЕЛЯ
5.1. Изготовитель гарантирует соответствие продукта требованиям настоящего стандарта при соблюдении условий хранения и транспортирования.
5.2. Гарантийный срок хранения органического стекла - 2 года со дня изготовления.
ПРИЛОЖЕНИЕ 1
Обязательное
Коды по общесоюзному классификатору промышленной и сельскохозяйственной продукции
Таблица 10
|
Длина и ширина |
Номинальная толщина, мм |
Код ОКП |
|
|
CО-95-A |
До 1250×1150 |
0,8 |
22 1627 0101 04 |
|
1,0, |
22 1627 0102 03 |
||
|
1,5 |
22 1627 0103 02 |
||
|
2,0 |
22 1627 0104 01 |
||
|
2,5 |
22 1627 0105 00 |
||
|
3,0 |
22 1627 0106 10 |
||
|
4,0 |
22 1627 0107 09 |
||
|
5,0 |
22 1627 0108 08 |
||
|
6,0 |
22 1627 0109 07 |
||
|
7,0 |
22 1627 0110 03 |
||
|
8,0 |
22 1627 0111 02 |
||
|
10,0 |
22 1627 0112 01 |
||
|
12,0 |
22 1627 0113 00 |
||
|
14,0 |
22 1627 0114 10 |
||
|
16,0 |
22 1627 0115 09 |
||
|
18,0 |
22 1627 0116 08 |
||
|
20,0 |
22 1627 0117 07 |
||
|
22,0 |
22 1627 0118 06 |
||
|
24,0 |
22 1627 0119 05 |
||
|
26,0 |
22 1627 0120 01 |
||
|
28,0 |
22 1627 0121 00 |
||
|
30,0 |
22 1627 0122 10 |
||
|
До 1600×1400 |
0,8 |
22 1627 1301 05 |
|
|
1,0 |
22 1627 1302 04 |
||
|
1,5 |
22 1627 1303 03 |
||
|
2,0 |
22 1627 1304 02 |
||
|
2,5 |
22 1627 1305 01 |
||
|
3,0 |
22 1627 1306 00 |
||
|
4,0 |
22 1627 1307 10 |
||
|
5,0 |
22 1627 1308 09 |
||
|
6,0 |
22 1627 1309 08 |
||
|
7,0 |
22 1627 1310 04 |
||
|
8,0 |
22 1627 1311 03 |
||
|
10,0 |
22 1627 1312 02 |
||
|
12,0 |
22 1627 1313 01 |
||
|
14,0 |
22 1627 1314 00 |
||
|
16,0 |
22 1627 1315 10 |
||
|
18,0 |
22 1627 1316 09 |
||
|
20,0 |
22 1627 1317 08 |
||
|
22,0 |
|||
|
24,0 |
22 1627 1319 06 |
||
|
26,0 |
22 1627 1320 02 |
||
|
28,0 |
22 1627 1321 01 |
||
|
30,0 |
22 1627 1322 00 |
||
|
СО-120-А |
До 1250×1150 |
0,8 |
22 1627 0201 01 |
|
1,0 |
22 1627 0202 00 |
||
|
1,5 |
22 1627 0203 10 |
||
|
2,0 |
22 1627 0204 09 |
||
|
2,5 |
22 1627 0205 08 |
||
|
3,0 |
22 1627 0206 07 |
||
|
4,0 |
22 1627 0207 06 |
||
|
5,0 |
22 1627 0208 05 |
||
|
6,0 |
22 1627 0209 04 |
||
|
7,0 |
22 1627 0210 00 |
||
|
8,0 |
22 1627 0211 10 |
||
|
10,0 |
22 1627 0212 09 |
||
|
12,0 |
22 1627 0213 08 |
||
|
14,0 |
22 1627 0214 07 |
||
|
16,0 |
22 1627 0215 06 |
||
|
18,0 |
22 1627 0216 05 |
||
|
20,0 |
22 1627 0217 04 |
||
|
22,0 |
22 1627 0218 03 |
||
|
24,0 |
22 1627 0219 02 |
||
|
26,0 |
22 1627 0220 09 |
||
|
28,0 |
22 1627 0221 08 |
||
|
30,0 |
22 1627 0222 07 |
||
|
До 1600×1400 |
0,8 |
22 1627 1401 02 |
|
|
1,0 |
22 1627 1402 01 |
||
|
1,5 |
22 1627 1403 00 |
||
|
2,0 |
22 1627 1404 10 |
||
|
2,5 |
22 1627 1405 09 |
||
|
3,0 |
22 1627 1406 08 |
||
|
4,0 |
22 1627 1407 07 |
||
|
5,0 |
22 1627 1408 06 |
||
|
6,0 |
22 1627 1409 05 |
||
|
7,0 |
22 1627 1410 01 |
||
|
8,0 |
22 1627 1411 00 |
||
|
10,0 |
22 1627 1412 10 |
||
|
12,0 |
22 1627 1413 09 |
||
|
14,0 |
22 1627 1414 08 |
||
|
16,0 |
22 1627 1415 07 |
||
|
18,0 |
22 1627 1416 06 |
||
|
20,0 |
22 1627 1417 05 |
||
|
22,0 |
22 1627 1418 04 |
||
|
24,0 |
22 1627 1419 03 |
||
|
26,0 |
22 1627 1420 10 |
||
|
28,0 |
22 1627 1421 09 |
||
|
30,0 |
|||
|
СО-95-К |
До 1250×1150 |
0,8 |
22 1622 5801 10 |
|
1,0 |
22 1622 5802 09 |
||
|
1,5 |
22 1622 5803 08 |
||
|
2,0 |
22 1622 5804 07 |
||
|
2,5 |
22 1622 5805 06 |
||
|
3,0 |
22 1622 5806 05 |
||
|
4,0 |
22 1622 5807 04 |
||
|
5,0 |
22 1622 5808 03 |
||
|
6,0 |
22 1622 5809 02 |
||
|
7,0 |
22 1622 5810 09 |
||
|
8,0 |
22 1622 5811 08 |
||
|
10,0 |
22 1622 5812 07 |
||
|
12,0 |
22 1622 5813 06 |
||
|
14,0 |
22 1622 5814 05 |
||
|
16,0 |
22 1622 5815 04 |
||
|
18,0 |
22 1622 5816 03 |
||
|
20,0 |
22 1622 5817 02 |
||
|
22,0 |
22 1622 5818 01 |
||
|
24,0 |
22 1622 5819 00 |
||
|
26,0 |
22 1622 5820 10 |
||
|
28,0 |
22 1622 5821 09 |
||
|
30,0 |
22 1622 5822 08 |
||
|
До 1600×1400 |
0,8 |
22 1622 5917 10 |
|
|
1,0 |
22 1622 5918 09 |
||
|
1,5 |
22 1622 5919 08 |
||
|
2,0 |
22 1622 5920 04 |
||
|
2,5 |
22 1622 5921 03 |
||
|
3,0 |
22 1622 5922 02 |
||
|
4,0 |
22 1622 5901 07 |
||
|
5,0 |
22 1622 5902 06 |
||
|
6,0 |
22 1622 5903 05 |
||
|
7,0 |
22 1622 5904 04 |
||
|
8,0 |
22 1622 5905 03 |
||
|
10,0 |
22 1622 5906 02 |
||
|
12,0 |
22 1622 5907 01 |
||
|
14,0 |
22 1622 5908 00 |
||
|
16,0 |
22 1622 5909 10 |
||
|
18,0 |
22 1622 5910 06 |
||
|
20,0 |
22 1622 5911 05 |
||
|
22,0 |
22 1622 5912 04 |
||
|
24,0 |
22 1622 5913 03 |
||
|
26,0 |
22 1622 5914 02 |
||
|
28,0 |
22 1622 5915 01 |
||
|
30,0 |
22 1622 5916 00 |
||
|
СО-120-К |
До 1250×1150 |
0,8 |
22 1622 6701 09 |
|
1,0 |
22 1622 6702 08 |
||
|
1,5 |
22 1622 6703 07 |
||
|
2,0 |
22 1622 6704 06 |
||
|
2,5 |
22 1622 6705 05 |
||
|
22 1622 6706 04 |
|||
|
4,0 |
22 1622 6707 03 |
||
|
5,0 |
22 1622 6708 02 |
||
|
6,0 |
22 1622 6709 01 |
||
|
7,0 |
22 1622 6710 08 |
||
|
8,0 |
22 1622 6711 07 |
||
|
10,0 |
22 1622 6712 06 |
||
|
12,0 |
22 1622 6713 05 |
||
|
14,0 |
22 1622 6714 04 |
||
|
16,0 |
22 1622 6715 03 |
||
|
18,0 |
22 1622 6716 02 |
||
|
20,0 |
22 1622 6717 01 |
||
|
22,0 |
22 1622 6718 00 |
||
|
24,0 |
22 1622 6719 10 |
||
|
26,0 |
22 1622 6720 06 |
||
|
28,0 |
22 1622 6721 05 |
||
|
30,0 |
22 1622 6722 04 |
||
|
До 1600×1400 |
0,8 |
22 1622 6817 09 |
|
|
1,0 |
22 1622 6818 08 |
||
|
1,5 |
22 1622 6819 07 |
||
|
2,0 |
22 1622 6820 03 |
||
|
2,5 |
22 1622 6821 02 |
||
|
3,0 |
22 1622 6822 01 |
||
|
4,0 |
22 1622 6801 06 |
||
|
5,0 |
22 1622 6802 05 |
||
|
6,0 |
22 1622 6803 04 |
||
|
7,0 |
22 1622 6804 03 |
||
|
8,0 |
22 1622 6805 02 |
||
|
10,0 |
22 1622 6806 01 |
||
|
12,0 |
22 1622 6807 00 |
||
|
14,0 |
22 1622 6808 10 |
||
|
16,0 |
22 1622 6809 09 |
||
|
18,0 |
22 1622 6810 05 |
||
|
20,0 |
22 1622 6811 04 |
||
|
22,0 |
22 1622 6812 03 |
||
|
24,0 |
22 1622 6813 02 |
||
|
26,0 |
22 1622 6814 01 |
||
|
28,0 |
22 1622 6815 00 |
||
|
30,0 |
22 1622 6816 10 |
||
|
СО-135-К |
До 1250×1150 |
3,0 |
22 1622 7611 06 |
|
4,0 |
22 1622 7601 08 |
||
|
5,0 |
22 1622 7602 07 |
||
|
6,0 |
22 1622 7603 06 |
||
|
7,0 |
22 1622 7604 05 |
||
|
8,0 |
22 1622 7605 04 |
||
|
10,0 |
22 1622 7606 03 |
||
|
12,0 |
22 1622 7607 02 |
||
|
14,0 |
|||
|
16,0 |
22 1622 7609 00 |
||
|
18,0 |
22 1622 7610 07 |
||
|
До 1600×1400 |
3,0 |
22 1622 7711 03 |
|
|
4,0 |
22 1622 7701 05 |
||
|
5,0 |
22 1622 7702 04 |
||
|
6,0 |
22 1622 7703 03 |
||
|
7,0 |
22 1622 7704 02 |
||
|
8,0 |
22 1622 7705 01 |
||
|
10,0 |
22 1622 7706 00 |
||
|
12,0 |
22 1622 7707 10 |
||
|
14,0 |
22 1622 7708 09 |
||
|
16,0 |
22 1622 7709 08 |
||
|
18,0 |
22 1622 7710 04 |
ПРИЛОЖЕНИЕ 2
Справочное
Термины показателей внешнего вида и их пояснения
Таблица 11
|
Наименование показателя |
Пояснение |
|
1. Посторонние включения |
Инородные или полимерного характера включения и образования различной формы в толще или на поверхности органического стекла |
|
2 Царапины грубые |
Резко выраженные механические повреждения поверхности стекла, представляющие собой прямую или иную линию, не удаляемые полировкой |
|
3. Царапины негрубые |
Не резко выраженные механические повреждения поверхности стекла, представляющие собой прямую или иную линию, удаляемую полировкой |
|
4. Ворсинки |
Нитевидные включения в толще или на поверхности оргстекла |
|
5. Прозрачные точки |
Включения полимерного или другого характера в виде блестящих прозрачных точек |
|
6. Свиль |
Нитевидные или узелковые проявления оптической неоднородности стекла |
|
7. Сыпь, лунки |
Оптические искажения поверхности стекла в виде кратерообразных углублений или выпуклостей, видимые под углом к поверхности |
|
8. Полосность, волнистость |
Оптические искажения поверхности стекла в виде параллельных или концентрической формы полос в результате отпечатков силикатного стекла, видимые под углом к поверхности |
|
9. Волосяные царапины |
Легкие механические повреждения поверхности стекла, едва заметные невооруженным глазом, легко удаляемые полировкой |
|
10. Поверхностные наплывы, отпечатки трещин силикатного стекла |
Образования выпуклой или выгнутой формы на поверхности листа в виде линий или участков различной конфигурации |
|
11. Щербинки, зазубрины, околы |
Неоднородность среза |
|
12. Формовая матовость |
Отпечатки с поверхности силикатного стекла в виде пятен, мазков, полос, капель, дорожек, видимые под прямым углом к поверхности листа |
|
13. Пузыри |
Газовые полости в толще органического стекла |
Рекомендуется для идентификации дефектов применять образцы дефектов внешнего вида, выдаваемые предприятием-изготовителем.
ПРИЛОЖЕНИЕ 3
Обязательное
Порядок описания, оформления и утверждения контрольных образцов листового органического стекла на термостойкость
1. Контрольные образцы изготовляет каждое предприятие-изготовитель.
2. Контрольные образцы на термостойкость устанавливаются после термообработки листового органического стекла.
3. Контрольные образцы на термостойкость листового органического стекла (с наличием вышеперечисленных дефектов внешнего вида) представляют собой листы размером 1150×1250 мм.
4. Контрольные образцы отбирают от партий листового органического стекла, выпущенных по утвержденному технологическому регламенту и соответствующих требованиям настоящего стандарта.
5. Контрольные образцы в количестве не менее двух экземпляров, отобранные предприятием-изготовителем, представляют на совместное рассмотрение представителей ОТК, Госприемки и согласовывают с основным предприятием-потребителем.
6. На контрольные образцы должны быть прикреплены соответствующие ярлыки, опломбированные ОТК предприятия-изготовителя и заверенные печатями предприятия-изготовителя, потребителя, Госприемки.
На ярлыке контрольного образца делают запись о его назначении: «Контрольный образец на термостойкость листового органического стекла».
7. Контрольные образцы хранят в ОТК предприятия-изготовителя и потребителя.
8. Срок действия контрольных образцов, оговоренный при согласовании, не должен превышать срок действия настоящего стандарта. При внесении изменений в настоящий стандарт контрольные образцы подлежат пересмотру.
9. Контрольные образцы хранят в соответствии с п. 4.2.
10. По требованию предприятия-потребителя начальник ОТК предприятия-изготовителя выдает им копии утвержденных контрольных образцов, заверенные своей подписью и печатью ОТК.
ПРИЛОЖЕНИЕ 4
Справочное
Таблица справочных показателей физико-механических свойств
Таблица 12
|
Норма для марки |
Метод испытания |
|||
|
СО-95-А, СО-95-К |
СО-120-А, CO-120-K |
СО-133-К |
||
|
1. Плотность при 23 °С, кг/м3 |
1180 |
1180 |
1190 |
По ГОСТ 15139 (метод гидростатического взвешивания) |
|
2. Показатель преломления при 23 °С |
1,49 |
1,49 |
1,49 |
По ГОСТ 19927 (рефрактометрический метод) |
|
3. Твердость, МПа |
110 |
120 |
140 |
По ГОСТ 4670 (основная нагрузка - 358 Н) |
|
4. Максимальное напряжение при изгибе, МПа |
70 |
90 |
110 |
По ГОСТ 4648 |
|
5. Предел текучести при сжатии, МПа |
100 |
120 |
140 |
По ГОСТ 4651 |
|
6. Линейная усадка, % |
3,5 |
3,5 |
- |
Прогрев при (Тр + 20) °С в течение 2 ч |
|
7. Водопоглощение, % |
0,3 |
0,3 |
0,4 |
По ГОСТ 4650 (метод А толщина образца 3 мм) |
|
8. Маслостойкость и бензостойкость |
Хорошая |
По ГОСТ 12020 |
||
|
9. Удельное объемное электрическое сопротивление, Ом · см |
1 · 1014 |
1 · 1014 |
- |
По ГОСТ 6433.2 |
|
10. Электрическая прочность, мВ/м |
25 - 40 |
- |
По ГОСТ 6433.3 |
|
|
11. Тангенс угла диэлектрических потерь при частоте, Гц: |
||||
|
50 |
0,04 - 0,06 |
- |
По ГОСТ 6433.4 |
|
|
106 |
0,01 - 0,03 |
- |
По ГОСТ 22372 |
|
|
12. Диэлектрическая проницаемость при частоте, Гц: |
||||
|
50 |
3,8 - 4,2 |
- |
По ГОСТ 6433.4 |
|
|
106 |
3,3 - 3,5 |
- |
По ГОСТ 22372 |
|
|
13. Горючесть: |
Горючие |
По ГОСТ 12.1.044 (метод огневой трубы) |
||
|
потеря массы, % |
Более 20 |
|||
|
время самостоятельного горения, с |
Более 60 |
|||
ИНФОРМАЦИОННЫЕ ДАННЫЕ
1. РАЗРАБОТАН И ВНЕСЕН Министерством химической и нефтеперерабатывающей промышленности СССР
РАЗРАБОТЧИКИ
А.И. Дьячков, В.Н. Миронова, О.И. Рубцова, Л.К. Белякова, Е.А. Семенова, В.И. Лебедева, В.И. Чернавин, З.В. Зимина
2. УТВЕРЖДЕН И ВВЕДЕН В ДЕЙСТВИЕ Постановлением Государственного комитета СССР по управлению качеством продукции и стандартам от 12.04.90 № 870
3. Периодичность проверки - 5 лет.
4. ВЗАМЕН ГОСТ 10667-74 и ГОСТ 15809-70
5. ССЫЛОЧНЫЕ НОРМАТИВНО-ТЕХНИЧЕСКИЕ ДОКУМЕНТЫ
|
Обозначение НТД, на который дана ссылка |
Номер пункта, приложения |
|
ГОСТ 12.1.005-88 |
1.3.5.2 |
|
ГОСТ 12.1.044-84 |
1.3.5.1 |
|
ГОСТ 12.4.013-85 |
1.3.5.3 |
|
ГОСТ 12.4.121-83 |
1.3.5.3 |
|
ГОСТ 12.4.131-83 |
1.3.5.3 |
|
ГОСТ 12.4.132-83 |
1.3.5.3 |
|
ГОСТ 61-75 |
3.10.1.1 |
|
ГОСТ 427-75 |
3.10.2.1 |
|
ГОСТ 503-81 |
1.5.2; 1.5.3 |
|
ГОСТ 577-68 |
3.5.2.2 |
|
ГОСТ 1770-74 |
3.10.1.1 |
|
ГОСТ 1908-88 |
1.5.1 |
|
ГОСТ 2603-79 |
3.10.2.1; 3.11.1 |
|
ГОСТ 2991-85 |
1.5.2 |
|
ГОСТ 3022-80 |
3.10.2.1 |
|
ГОСТ 3118-77 |
3.10.2.1 |
|
ГОСТ 3479-85 |
1.5.1 |
|
ГОСТ 3560-73 |
1.5.2; 1.5.3 |
|
ГОСТ 4160-74 |
3.10.1.1 |
|
ГОСТ 4232-74 |
3.10.1.1 |
|
ГОСТ 4457-74 |
3.10.1.1 |
|
ГОСТ 4647-80 |
1.3.4; 3.6 |
|
ГОСТ 4648-71 |
|
|
ГОСТ 4650-80 |
|
|
ГОСТ 4651-82 |
|
|
ГОСТ 4670-77 |
|
|
ГОСТ 5728-76 |
3.10.2.1 |
|
ГОСТ 5789-78 |
|
|
ГОСТ 5959-80 |
1.5.2 |
|
ГОСТ 6433.2-71 |
|
|
ГОСТ 6433.3-71 |
|
|
ГОСТ 6433.4-71 |
|
|
ГОСТ 6709-72 |
3.10.1.1 |
|
ГОСТ 7721-76 |
3.12 |
|
ГОСТ 8273-75 |
1.5.1; 1.5.2 |
|
ГОСТ 8728-88 |
3.11.1 |
|
ГОСТ 9293-74 |
3.10.2.1 |
|
ГОСТ 9550-81 |
1.3.4; 3.8 |
|
ГОСТ 9557-87 |
1.5.3 |
|
ГОСТ 10146-74 |
3.10.2.1 |
|
ГОСТ 10163-76 |
3.10.1.1 |
|
ГОСТ 11262-80 |
1.3.4; 3.7; 3.8 |
|
ГОСТ 12020-72 |
|
|
ГОСТ 14192-77 |
1.4.1; 1.4.2 |
|
ГОСТ 15088-83 |
1.3.4; 3.5 |
|
ГОСТ 15102-75 |
1.5.3 |
|
ГОСТ 15139-69 |
|
|
ГОСТ 15875-80 |
1.3.4; 3.12 |
|
ГОСТ 18477-79 |
1.5.3 |
|
ГОСТ 19433-88 |
1.4.2 |
|
ГОСТ 19927-74 |
|
|
ГОСТ 20010-74 |
1.3.5.3 |
|
ГОСТ 20292-74 |
3.10.1.1; 3.10.2.1 |
|
ГОСТ 20370-74 |
3.10.2.1 |
|
ГОСТ 20435-75 |
1.5.3 |
|
ГОСТ 21140-88 |
1.5.2 |
|
ГОСТ 21650-76 |
1.5.3 |
|
ГОСТ 21929-76 |
4.1 |
|
ГОСТ 22372-77 |
|
|
ГОСТ 22831-77 |
1.5.3 |
|
ГОСТ 22967-82 |
3.10.2.1 |
|
ГОСТ 24104-88 |
3.10.2.1 |
|
ГОСТ 24597-81 |
1.5.3 |
|
ГОСТ 25336-82 |
3.10.1.1 |
|
ГОСТ 25794.2-83 |
3.10.1.1 |
|
ГОСТ 26381-84 |
1.5.3 |
|
ТУ 81-04-392 |
1.5.1 |
|
ТУ 6-19-151-247 |
1.5.1 |
|
ТУ 6-09-3716 |
3.10.2.1 |
СОДЕРЖАНИЕ
1. Технические требования
2. Приемка
3. Методы испытаний
4. Транспортирование и хранение
5. Гарантии изготовителя
Приложение 1 Коды по общесоюзному классификатору промышленной и сельскохозяйственной продукции
Приложение 2 Термины показателей внешнего вида и их пояснения
Приложение 3 Порядок описания, оформления и утверждения контрольных образцов листового органического стекла на термостойкость
Приложение 4 Таблица справочных показателей физико-механических свойств
На сайте доступен для загрузки полный текст ГОСТ 10667-90 со всеми таблицами и формулами в формате pdf.
Вернуться к списку ГОСТов: 83.140.20 Слоистые листы
