| ГЛАВНОЕ |
СТАНДАРТЫ ГОСТ 24581-81ГОСТ 24581-81 Панели асбестоцементные трехслойные с утеплителем из пенопласта. Общие технические условияКатегории ГОСТ 24581-81 по ОКС: 91. Строительные материалы и строительство 91.080 Конструкции зданий 91.080.99 Конструкции зданий прочие Коды документа ГОСТ 24581-81: Код ОКП: 536920 Код КГС: Ж35 Код ОКСТУ: 5781 ГРНТИ индекс(ы): 671139;671141 Статус документа: действует, введён в действие 01.01.1982 Название на английском языке: Asbestos-cement sandwich panels with plastic foam thermal insulation. General specifications Число страниц: 25 РАЗРАБОТАН Центральным научно-исследовательским институтом строительных конструкций им. В.А. Кучеренко (ЦНИИСК им. Кучеренко) Госстроя СССР Министерством сельского хозяйства СССР Министерством сельского строительства СССР Центральным научно-исследовательским и проектно-экспериментальным институтом промышленных зданий и сооружений (ЦНИИпромзданий) Госстроя СССР Научно-исследовательским институтом строительной физики (НИИСФ) Госстроя СССР Институтом строительства и архитектуры Госстроя Белорусской ССР ИСПОЛНИТЕЛИ В.Н. Насонов, д-р техн. наук; Л.В. Суровова, канд. техн. наук; Ф.В. Расс, канд. техн. наук (руководители темы); С.Б. Ермолов, канд. техн. наук; В.М. Бобряшов, канд. техн. наук; К.В. Панферов, канд. техн. наук; Г.С. Поляков; М.Я. Кацман; Э.С. Герцева; Ю.А. Муравьев, канд. техн. наук; С.Е. Белова; В.И. Скрибо, канд. техн. наук; Л.В. Лайхтман; М.А. Беглецова; А.П. Кротов, канд. техн. наук; В.П. Барсуков; Н.М. Ляндрес; Л.М. Лейбенгруб ВНЕСЕН Центральным научно-исследовательским институтом строительных конструкций им. В.А. Кучеренко (ЦНИИСК им. Кучеренко) Госстроя СССР Зам. директора А.М. Чистяков УТВЕРЖДЕН и ВВЕДЕН В ДЕЙСТВИЕ Постановлением Государственного комитета СССР по делам строительства от 31 декабря 1980 г. № 229. Настоящий стандарт распространяется на панели (плиты) асбестоцементные трехслойные с обшивками из плоских асбестоцементных листов с утеплителем из пенопласта для стен, покрытий и подвесных потолков производственных зданий, эксплуатируемых в неагрессивных и слабоагрессивных средах при температуре наружной поверхности панели от 223 до 348 К (от минус 50 до плюс 75 °С), температуре внутренней поверхности панели не выше 303 К (плюс 30 °С), относительной влажности воздуха внутри помещения не более 75 %.
|
|||||||||||||||||||||||||||||||||||||||||||||||||||||||||||||||||||||||||||||||||||||||||||||||||||||||||||||||||||||||||||||||||||||||||||||||||||||||||||||||||||||||||||||||||||||||||||||||||||||||||||||||||||||||||||||||||||||||||||||||||||||||||||||||||||||
|
Отклонения для панелей |
||||
|
высшего сорта |
1-го сорта |
2-го сорта |
||
|
тип 1 |
типы 2 и 3 |
|||
|
1. Длина: |
|
|
|
|
|
до 3000 включ. |
± 3,0 |
± 4,0 |
± 5,0 |
± 10,0 |
|
св. 3000 до 4500 включ. |
± 4,0 |
± 5,0 |
± 6,0 |
± 10,0 |
|
" 4500 " 6000 " |
± 5,0 |
± 6,0 |
± 7,0 |
± 10,0 |
|
2. Ширина |
± 2,0 |
± 3,0 |
± 3,0 |
± 6,0 |
|
3. Толщина |
± 2,0 |
± 2,0 |
± 3,0 |
± 3,0 |
|
4. Смещение кромок листов |
± 2,0 |
± 2,0 |
± 3,0 |
± 5,0 |
|
5. Неперпендикулярность сторон |
± 2,0 |
± 3,0 |
± 3,0 |
± 5,0 |
|
6. Непрямолинейность |
± 2,0 |
± 3,0 |
± 3,0 |
± 5,0 |
|
7. Неплоскостность |
± 4,0 |
± 4,0 |
± 5,0 |
± 8,0 |
Примечание. Для панелей 1-го сорта, изготовленных из листов асбестоцементных непрессованных, допускается отклонение от плоскостности (неплоскостность) ± 8 мм.
3.5. Внешний вид панелей должен соответствовать эталону, утвержденному в установленном порядке. Допускаемые отклонения от показателей внешнего вида и качество защитно-декоративного покрытия должны соответствовать табл. 2.
3.6. Требования к составным частям панели и исходным материалам
3.6.1. Для изготовления панелей должны применяться асбестоцементные плоские прессованные обрезные (калиброванные) листы по ГОСТ 18124-75 с защитно-декоративным покрытием или без него.
Допускается применение непрессованных обрезных (калиброванных) асбестоцементных листов в панелях 1 и 2-го сортов, а по согласованию с заказчиком - необрезных (некалиброванных) асбестоцементных листов в панелях 2-го сорта.
3.6.2. Асбестоцементные листы следует применять в панелях не ранее чем через 28 сут после их изготовления, при этом влажность листов не должна быть более 8 %.
3.6.3. В панелях типа 3 верхний лист (черт. 1, поз. 5) может быть из твердых и сверхтвердых древесноволокнистых плит по ГОСТ 4598-74, а также других неметаллических листовых материалов по согласованию с базовой организацией по стандартизации панелей.
3.6.4. Для изготовления ребер и обрамления панелей может использоваться древесина, фанера или асбестоцемент. По согласованию с базовой организацией по стандартизации допускается использование для ребер и обрамлений других неметаллических материалов.
Таблица 2
|
Норма для панелей |
|||
|
высшего сорта |
1-го сорта |
2-го сорта |
|
|
1. Неровности (вмятины, выпуклости) на поверхности листов |
Не допускаются |
Допускаются отдельные глубиной (высотой) до 1 мм |
|
|
2. Расслаивание листов обшивки |
Не допускаются |
||
|
3. Трещины, посторонние включения, не предусмотренные проектом отверстия |
Не допускается |
||
|
4. Отколы углов и кромок листов |
Не допускаются |
Допускаются длиной не более 50 мм и шириной не более 15 мм в количестве не более одного на одной грани панели, если они не ослабляют крепление обрамления (ребра) и если после монтажа панели они не будут ухудшать внешний вид ограждения (например, будут закрыты нащельниками) |
|
|
5. Загрязнения, пятна краски и масла на поверхности листов |
Не допускаются |
||
|
6. Потертости, царапины на защитно-декоративном покрытии |
Не допускаются |
Допускаются незначительные в количестве не более двух на каждой поверхности панели глубиной не более толщины покрытия |
|
|
7. Отслоение защитно-декоративного покрытия |
Не допускается |
||
|
8. Расслаивание пенопласта или его отслоение от листов |
Не допускается |
||
|
9. Повреждения открытых поверхностей пенопласта (вмятины, вырывы), в том числе образованные при вспенивании |
Не допускаются |
Не допускаются в количестве более двух на длине 1 м, глубиной более 10 мм и площадью более 5 см2 каждое |
|
|
10. Наплывы пенопласта |
Не допускаются |
||
3.6.5. Физико-механические показатели пенопластов в зависимости от типа панели должны соответствовать указанным в табл. 3.
Таблица 3
|
Норма для панелей типов |
|||
|
1 |
2 |
3 |
|
|
1. Плотность (объемная масса), кг/м3, не более |
80 160 |
80 140 |
60 140 |
|
2. Коэффициент теплопроводности в сухом состоянии при температуре (293 ± 2) К [(20 ± 2) °С], Вт/(м×К) (ккал/м×ч °С), не более |
0,046 (0,04) 0,058 (0,05) |
0,046 (0,04) 0,058 (0,05) |
0,046 (0,04) 0,058 (0,05) |
|
3. Усадка линейная технологическая, %, не более |
0,2 |
1,0 |
1,0 |
|
4. Кислотное число, мг КОН/г, не более |
30 |
30 |
30 |
|
5. Влагопоглощение за 24 ч при относительной влажности воздуха (96 ± 2) % (по объему), не более |
0,6 |
1,0 |
1,0 |
|
6. Водопоглощение за 24 ч при насыщении водой, %, (по объему), не более |
10 |
10 |
10 |
|
7. Прочность, кПа (кгс/см2), не менее: |
|
|
|
|
при растяжении |
147 (1,5) |
147 (1,5) |
118 (1,2) |
|
при сжатии |
147 (1,5) |
147 (1,5) |
118 (1,2) |
|
при сдвиге |
118 (1,2) |
118 (1,2) |
98 (1,0) |
|
8. Модуль упругости при растяжении, МПа (кгс/см2), не более |
24,5 (250) 49,0 (500) |
24,5 (250) 49,0 (500) |
14,7 (150) 49,0 (500) |
|
9. Модуль сдвига, МПа (кгс/см2), не более |
9,8 (100) 24,5 (250) |
9,8 (100) 24,5 (250) |
7,8 (80) 24,5 (250) |
|
10. Прочность сцепления с листами кПа (кгс/см2), не менее: |
|
|
|
|
при равномерном отрыве |
147 (1,5) |
147 (1,5) |
118 (1,2) |
|
при сдвиге |
118 (1,2) |
118 (1,2) |
98 (1,0) |
Примечание. Нормы в числителе даны для пенопластов без наполнителей, в знаменателе - для пенопластов с наполнителями.
3.7. Требования к защите панелей от влажностных воздействий и коррозии
3.7.1. Панели и элементы креплений должны быть защищены от влажностных воздействий и коррозии в соответствии с указаниями СНиП II-28-73 и требованиями настоящего стандарта.
3.7.2. Наружную и внутреннюю поверхности панелей следует защищать от влажностных воздействий гидрофобизирующей жидкостью типа 136-41 по ГОСТ 10834-76 или водостойкими лакокрасочными покрытиями.
В случаях, когда панели применяются для ограждения помещений, в которых по требованиям технологии производится периодическое увлажнение (мытье и т.п.) ограждающих конструкций, или когда панели выполнены с пенопластами, имеющими водопоглощение более 3 % по объему, для защиты поверхности листов панелей со стороны помещения следует применять лакокрасочные покрытия.
3.7.3. Лакокрасочные покрытия для защиты листов от влажностных воздействий должны назначаться с учетом требований СНиП II-3-79.
3.7.4. Для защиты панелей от влажностных воздействий со стороны помещения рекомендуется применять нефтеполимерные, кумароно-каучуковые, сополимеровинилхлоридные и латексные лакокрасочные покрытия.
Для защиты панелей от влажностных воздействий с наружной стороны рекомендуется применять перхлорвиниловые, хлоркаучуковые и цементно-перхлорвиниловые лакокрасочные покрытия.
3.7.5. Торцевые поверхности панелей типа 1 с пенопластами, имеющими водопоглощение более 3 % по объему, следует защищать гидроизоляционными покрытиями из хлорсульфополиэтилена, тиоколовых герметиков или рубероида и т.п.
3.7.6. Деревянные элементы панелей должны быть антисептированы в соответствии с требованиями СНиП III-19-75 и защищены от возгорания в соответствии с указаниями рабочих чертежей.
3.7.7. Защитные (защитно-декоративные) покрытия следует наносить в заводских условиях.
3.8. Комплектность
3.8.1. Панели должны поставляться потребителям комплектно. В комплект поставки должны входить:
панели;
крепежные изделия;
элементы заделки стыков.
Количество комплектующих изделий и элементов должно соответствовать спецификации заказчика, составленной на основании рабочих чертежей.
3.8.2. Крепежные и стяжные болты, винты, шпильки должны поставляться вместе с гайками, шайбами, скобами, пластинами, колпачками и другими деталями в соответствии с рабочими чертежами.
4. ПРАВИЛА ПРИЕМКИ
4.1. Панели должны быть приняты техническим контролем предприятия-изготовителя партиями. К партии относятся панели одной марки, изготовленные не более чем за 7 сут по одному технологическому режиму, из материалов одинакового качества, в том числе с пенопластом одной плотности (объемной массы), приготовленным по одной рецептуре.
Число панелей в партии не должно быть более 500.
Допускается наличие в партии до 15 % (суммарно) панелей, отличающихся длиной , шириной, наличием и расположением отверстий или вырезов.
4.2. Приемочный контроль партии панелей производят по следующим показателям:
соответствие примененных материалов и деталей требованиям стандартов и рабочих чертежей панелей;
внешний вид, качество защитного (защитно-декоративного) покрытия, размеры, правильность формы и расположения поверхностей панелей;
прочность и жесткость панелей (образцов) при поперечном изгибе;
физико-механические показатели пенопласта:
плотность (объемная масса);
прочность при растяжении, сжатии, сдвиге;
модуль сдвига;
прочность сцепления с листами при сдвиге;
комплектность, маркировка и упаковка панелей.
4.3. Предприятие-изготовитель обязано не реже одного раза в год, а также при освоении производства панелей, изменении их конструкции, марки и рецептуры пенопласта или технологии производства проводить периодический контроль партии панелей по показателям, приведенным в п. 4.2, с дополнительной проверкой следующих физико-механических показателей пенопласта:
усадка линейная технологическая;
коэффициент теплопроводности;
кислотное число;
влагопоглощение;
водопоглощение;
модуль упругости при растяжении;
прочность сцепления с листами при равномерном отрыве.
4.4. При освоении производства панелей, а также при изменении их конструкции, марки и рецептуры пенопласта или технологии производства следует определять предел огнестойкости и группу возгораемости панелей путем проведения огневых испытаний не менее двух панелей, отобранных из одной партии. Отбор панелей из партии производят по ГОСТ 18321-73.
4.5. Проверку внешнего вида, качества защитного (защитно-декоративного) покрытия, размеров, формы и расположения поверхностей панелей проводят для каждой партии панелей в соответствии с планом одноступенчатого контроля, приведенным в табл. 4. Выборку панелей осуществляют по ГОСТ 18321-73.
Партию панелей принимают, если число дефектных панелей меньше или равно приемочному числу. Если число дефектных панелей больше или равно браковочному числу, то все панели партии проверяют поштучно. При этом панели, не удовлетворяющие требованиям табл. 1 и 2, бракуют.
Таблица 4
шт.
|
Объем выборки |
Приемочное число |
Браковочное число |
|
|
До 25 |
5 |
1 |
2 |
|
От 26 до 90 |
8 |
2 |
3 |
|
" 91 " 280 |
13 |
3 |
4 |
|
Св. 280 |
20 |
5 |
6 |
4.6. Проверку прочности и жесткости панелей при приемочном контроле проводят не менее чем на трех целых панелях, отобранных из числа панелей партии, проверенных по показателям, указанным в п. 4.5. Физико-механические показатели пенопласта при этом контроле определяют на образцах, вырезанных фрезами из панелей, отобранных в количестве не менее трех штук от каждой партии в соответствии с ГОСТ 18321-73. Допускается вырезать образцы пенопласта из панелей после проверки их прочности и жесткости.
Партию панелей принимают, если все проверенные панели удовлетворяют требованиям стандарта. Если при проверке окажется хотя бы одна панель, не удовлетворяющая требованиям стандарта хотя бы по одному из показателей, следует проводить повторную проверку по этому показателю удвоенного числа панелей данной партии.
Если при повторной проверке хотя бы одна панель не будет удовлетворять требованиям стандарта, то всю партию панелей бракуют.
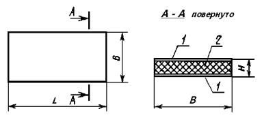
4.7. Для каждого вида испытаний пенопласта вырезают по три образца из каждой отобранной панели, как указано на черт. 2.

Места вырезки образцов: 1 - для проверки плотности (объемной массы), прочности при растяжении, сжатии и сдвиге, прочности сцепления с листами при равномерном отрыве и сдвиге, модуля упругости и модуля сдвига пенопласта; 2 - для определения коэффициента теплопроводности пенопласта; 3 - для определения влагопоглощения и водопоглощения пенопласта; L - длина панели; В - ширина панели.
Черт. 2
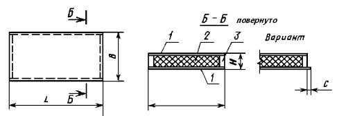
4.8. Допускается прочность и жесткость панелей типа 1 определять на образцах, вырезанных из панелей, одновременно с образцами для определения физико-механических показателей пенопласта в соответствии с черт. 3. Из каждой проверяемой панели вырезают по три образца для каждого вида испытаний.

Места вырезки образцов: 1 - для проверки прочности и жесткости панелей при поперечном изгибе; 2 - для проверки плотности (объемной массы), прочности при растяжении, сжатии и сдвиге, прочности сцепления с листами при равномерном отрыве и сдвиге, модуля упругости при растяжении и модуля сдвига пенопласта; 3 - для определения коэффициента теплопроводности пенопласта; 4 - для определения влагопоглощения и водопоглощения пенопласта; L- длина панели; В - ширина панели.
Черт. 3
4.9. При периодическом контроле прочность, жесткость панелей и физико-механические показатели пенопласта проверяют в соответствии с планом двухступенчатого контроля, приведенного в табл. 5. Объем партии должен составлять не менее 26 панелей. Выборку панелей осуществляют по ГОСТ 18321-73. Прочность и жесткость панелей всех типов определяют на целых панелях.
Таблица 5
|
Выборка |
Объем выборки, шт. |
Приемочное число, шт. |
Браковочное число, шт. |
|
|
От 26 до 90 включ. |
Первая |
5 |
0 |
3 |
|
Вторая |
5 |
3 |
4 |
|
|
От 90 до 280 включ. |
Первая |
8 |
0 |
4 |
|
Вторая |
8 |
4 |
5 |
|
|
Св. 280 |
Первая |
13 |
2 |
5 |
|
Вторая |
13 |
6 |
7 |
Партию панелей принимают, если число дефектных панелей в первой выборке меньше или равно приемочному числу, и бракуют без назначения второй выборки, если число дефектных панелей больше или равно браковочному числу.
Если число дефектных панелей в первой выборке больше приемочного числа, но меньше браковочного, производят вторую выборку. Партию панелей принимают, если число дефектных панелей в двух выборках меньше или равно приемочному числу второй выборки, и бракуют, если число дефектных панелей в двух выборках больше или равно браковочному числу второй выборки.
4.10. Испытание панелей (образцов) проводят не ранее чем через 8 сут, а вырезку образцов - не ранее чем через 3 сут после изготовления панелей.
4.11. Результаты контроля каждой партии панелей должны быть записаны в документе установленной формы.
4.12. Потребитель имеет право проводить контрольную выборочную проверку панелей в соответствии с требованиями настоящего стандарта, применяя при этом методы контроля и испытаний, приведенные в настоящем стандарте.
5. МЕТОДЫ КОНТРОЛЯ И ИСПЫТАНИЙ
5.1. Вид и сорт листов, вид их покрытия, материал обрамления и ребер, марку и рецептуру пенопласта проверяют по документам предприятий-поставщиков, удостоверяющим качество. В необходимых случаях проверка указанных выше показателей может проводиться путем отбора и испытаний соответствующих образцов (проб) материалов.
5.2. Внешний вид панелей и качество защитного (защитно-декоративного) покрытия проверяют путем осмотра, измерений и сравнения с утвержденным эталоном.
5.3. Предел огнестойкости и группу возгораемости панелей определяют испытанием панелей в соответствии с требованиями СНиП II-А.5-70*.
5.4. Комплектность панелей проверяют по технической документации. Маркировку и упаковку панелей проверяют путем осмотра пакетов панелей.
5.5. Проверка размеров
5.5.1. Инструменты и приспособления
Линейка металлическая измерительная по ГОСТ 427-75.
Штангенциркуль по ГОСТ 166-80.
Штангенглубиномер по ГОСТ 166-80.
Рулетки измерительные металлические 2-го класса типов РЗ-2, РЗ-5, РЗ-10 по ГОСТ 7502-80.
При отсутствии стандартного измерительного инструмента допускается использование ведомственных средств измерений, поверка которых производится в установленном порядке.
5.5.2. Проведение контроля
Длину панели измеряют с двух сторон на расстоянии 40 мм от продольных кромок панели, ширину - посередине длины панели и на расстоянии 20 мм от торцевых кромок панели с двух сторон.
Толщину панели измеряют в десяти точках в соответствии с черт. 4. Толщину панели с отверстием дополнительно измеряют в двух точках, расположенных посередине противоположных сторон отверстия на расстоянии 20 мм от его края.
Схема расположения точек измерения толщины панели

L - длина панели; В - ширина панели (для панели типа 3 - размер между внутренними гранями ребер)
Черт. 4
Схема определения смещения кромок листов

1 - панель; 2 - поверочный угольник 90°; С - проектное смещение кромок листов
Черт. 5
Высоту ребер панели типа 3 измеряют на расстоянии 40 мм от торцов и посередине длины каждого ребра.
5.6. Проверка формы и расположения поверхностей панелей
5.6.1. Для определения смещения кромок листов друг относительно друга следует применять поверочные угольники 90° по ГОСТ 3749-77.
Для измерения смещения следует применять щупы по ГОСТ 882-75 или металлические измерительные линейки по ГОСТ 427-75.
Смещение DС кромок листов определяют измерением наибольшего зазора между рабочей поверхностью поверочного угольника 90°, установленного под прямым углом к плоскости одного из листов вплотную к его кромке, и кромкой другого листа (черт. 5).
Смещение кромок листов проверяют в трех точках по длине каждой из продольных и торцевых сторон панели.
5.6.2. Для определения неперпендикулярности боковой и торцевой сторон панели следует применять поверочные угольники 90°, а для измерения неперпендикулярности - щупы по ГОСТ 882-75 или металлические измерительные линейки по ГОСТ 427-75.
Неперпендикулярность dперп определяют измерением наибольшего зазора между рабочей поверхностью поверочного угольника 90°, установленного под прямым углом к боковой грани панели, и торцевой плоскостью панели (черт. 6).
Схема определения неперпендикулярности сторон

1 - панель; 2 - поверочный угольник 90°; В - ширина панели
Черт. 6
Размер сторон угольника, прикладываемой к торцевой плоскости панели, должен быть не менее размера ширины панели.
Неперпендикулярность сторон проверяют в двух противоположных углах панели.
5.6.3. Для определения непрямолинейности реального профиля поверхностей панели следует применять металлические поверочные линейки 2-го класса точности типа ШД по ГОСТ 8026-75, а также специальные металлические поверочные линейки или рейки, у которых непрямолинейность профиля рабочей поверхности не превышает 0,5 мм.
Для измерения непрямолинейности следует применять щупы по ГОСТ 882-75, индикаторы часового типа по ГОСТ 577-68 или металлические измерительные линейки по ГОСТ 427-75.
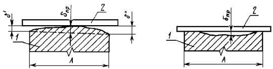
Непрямолинейность dпр реального профиля поверхностей панели определяют измерением наибольшего зазора между поверхностью панели и рабочей поверхностью поверочной линейки или рейки, установленной таким образом, чтобы расстояния d¢ и d¢¢ от линейки или рейки до проверяемой поверхности были равны или отличались между собой не более чем на 1,0 мм (черт. 7).
Длина поверочной линейки или рейки должна быть не менее длины проверяемой панели.
Схемы определения непрямолинейности профиля
Случай выпуклой поверхности Случай вогнутой поверхности

1 - панель; 2 - поверочная линейка; А - размер проверяемой поверхности панели
Черт. 7
Непрямолинейность реального профиля проверяют на боковых и торцевых поверхностях панели - по средней линии, на верхней и нижней поверхностях панели - по линиям, проходящим на расстоянии 100 мм от продольных и торцевых кромок, и по среднему продольному сечению панели.
5.6.4. Для определения неплоскостности панели могут быть использованы горизонтальные и вертикальные стенды или шаблоны (черт. 8 а, б) с четырьмя выступающими опорами, расположенными в одной плоскости, или отвес-рейка (черт. 8 в). Допускается также использовать стандартные геодезические приборы.
Для измерения неплоскостности панели следует применять инструменты и приборы, используемые при измерении непрямолинейности.
Неплоскостность dпл панели определяют измерением действительного отклонения одной из четырех угловых точек панели от плоскостности, проходящей через три другие точки.
5.7. Определение прочности и жесткости панелей при поперечном изгибе
5.7.1. Образцы для проверки прочности и жесткости панели типа 1, вырезаемые из панели в соответствии с п. 4.8, должны иметь длину, равную длине панели, ширину не менее 200 мм и не менее двух толщин панели.
5.7.2. Приборы и оборудование
Испытательная установка, обеспечивающая возможность закрепления панели (образца) и приложение к ней нагрузки по заданной схеме испытания (черт. 9) и измерение нагрузки с погрешностью до 1 %.
База длиной, соответствующей ширине образца.
Металлическая траверса длиной, соответствующей 1/3 длины панели (образца).
Металлические цилиндрические опоры диаметром 30 мм и длиной, соответствующей ширине панели (образца).
Схемы определения неплоскостности панели

dпл = С1 - С2
1 - панель; 2 - опоры; 3 - жесткий металлический шаблон; 4 - отвес-рейка
Черт. 8
Металлические пластины сечением 60´5 мм и длиной, соответствующей ширине панели (образца).
Прибор для измерения прогиба панели (образца) с погрешностью до 0,1 мм.
5.7.3. Подготовка и проведение испытаний
Перед началом испытаний панели (образцы) выдерживают в течение 24 ч при температуре (291 ± 2) К [(18 ± 2) °С] и относительной влажности воздуха 50 - 60 %, после чего измеряют размеры их сечения с погрешностью до 1 мм.
Испытания проводят в помещении при температуре воздуха (291 ± 2) К [(18 ± 2) °С] и относительной влажности воздуха 50 - 60 %.
Испытания панелей (образцов) на прочность и жесткость при поперечном изгибе должны проводиться сосредоточенной нагрузкой по схеме, указанной на черт. 9.
Схема испытания панели (образца) на поперечный изгиб

1 - панель (образец); 2 - база; 3 - траверса; 4 - цилиндрические опоры; 5 - металлические пластины; 6 - прибор для измерения прогиба панели (образца)
Черт. 9
Допускается проводить испытания панелей равномерно распределенной нагрузкой, если это предусмотрено в стандартах или рабочих чертежах панелей.
Испытания панелей (образцов) проводят в следующей последовательности: на опоры 4 базы 2 устанавливают панель (образец) в горизонтальной плоскости перпендикулярно опорам базы; между панелью (образцом) и опорами базы прокладывают пластины 5.
На панель (образец) устанавливают устройство для передачи нагрузки, состоящее из металлической траверсы 3, опор 4 и пластин 5.
В центре панели (образца) устанавливают измерительный прибор 6. Затем к панели (образцу) прикладывают нагрузку, которую постепенно увеличивают, доводя ее до разрушения панели (образца).
Испытание проводят в два этапа, увеличивая нагрузку ступенями:
на 1-м этапе, предусматривающем достижение контрольной нагрузки для проверки жесткости панели (образца), - величиной не более 1/3 от этой нагрузки;
на 2-м этапе, предусматривающем доведение панели (образца) до разрушения, - величиной не более 0,1 от контрольной нагрузки для проверки прочности панели (образца).
При испытании панелей (образцов) на прочность и жесткость должны быть приняты меры по обеспечению безопасности работ. Панель (образец) должна нагружаться так, чтобы при испытании не могло произойти обрушение загрузочных приспособлений. Под панелью (образцом) следует установить специальные устройства, предохраняющие панель (образец) от падения в момент разрушения, но не препятствующие свободному прогибу панели (образца) до момента разрушения.
В процессе нагружения измеряют прогиб посередине пролета панели (образца) на каждой ступени нагружения (до достижения контрольной нагрузки при проверке жесткости) и определяют предельную (разрушающую) нагрузку.
Время выдержки панели (образца) на каждой ступени нагружения должно быть одинаково, а общее время испытания панели (образца) не должно превышать 30 мин.
При проведении испытания выявляют признаки разрушения панели (образца), которыми являются:
разрушение листов;
разрушение ребер (обрамления);
разрушение пенопласта;
отслоение листов от пенопласта;
нарушение соединения листов с ребрами (обрамлением).
Результаты испытаний и признаки разрушения панелей (образцов) записывают в журнал по форме рекомендуемого приложения к настоящему стандарту.
5.7.4. Панель (образец) считают удовлетворяющей требованиям настоящего стандарта по прочности и жесткости, если разрушающая нагрузка будет не ниже контрольной нагрузки при проверке прочности, а прогиб при контрольной нагрузке при проверке жесткости - не выше контрольного прогиба, указанных в стандартах или рабочих чертежах на конкретные панели.
5.8. Определение физико-механических показателей пенопласта
5.8.1. Форма и размеры образцов, вырезаемых из панелей в соответствии с пп. 4.6. - 4.8, должны отвечать требованиям стандартов или нормативно-технической документации на методы контроля конкретных физико-механических показателей пенопластов.
5.8.2. Плотность (объемную массу) пенопласта определяют по ГОСТ 409-77.
5.8.3. Коэффициент теплопроводности пенопласта определяют по ГОСТ 7076-78.
5.8.4. Линейную технологическую усадку пенопласта определяют по нормативно-технической документации, утвержденной в установленном порядке.
5.8.5. Влагопоглощение и водопоглощение пенопласта определяют по ГОСТ 23486-79.
5.8.6. Прочность пенопласта при растяжении, сжатии и сдвиге и прочность сцепления при равномерном отрыве пенопласта от листов и при сдвиге определяют по ГОСТ 22695-77.
5.8.7. Модуль упругости и модуль сдвига пенопласта определяют по ГОСТ 23404-78.
5.8.8. Результаты испытаний физико-механических показателей образцов пенопласта записывают в журнал отдела технического контроля или лаборатории предприятия-изготовителя.
В журнале указывают также:
наименование и марку панелей, номер партии;
тип и марку испытательной машины и измерителя деформаций;
вид испытания;
число образцов, взятых на испытание;
даты изготовления панелей и испытания образцов.
6. УПАКОВКА, МАРКИРОВКА, ТРАНСПОРТИРОВАНИЕ И ХРАНЕНИЕ
6.1. Панели должны быть рассортированы по типам и размерам и уложены в пакеты (штабели).
6.2. Панели укладывают в пакеты в горизонтальном положении на прокладки длиной, равной ширине панелей.
Прокладки устанавливают параллельно торцам панелей на одинаковом расстоянии от торцов, по вертикали одна над другой. Места расположения прокладок должны соответствовать указаниям рабочих чертежей.
6.3. Панели типов 1 и 2 допускается укладывать в пакеты в положении “на ребро” на подкладки длиной, равной ширине пакета, с установкой между панелями прокладок длиной, равной ширине панелей. Места расположения подкладок и прокладок должны соответствовать указанным в рабочих чертежах.
6.4. Прокладки не должны допускать повреждения панелей и защитно-декоративного покрытия листов.
Прокладки могут изготавливаться из досок сечением 25´80 мм. При наличии в панелях выступающих деталей толщина прокладок должна превышать размер выступающих деталей не менее чем на 20 мм.
6.5. Панели в пакетах должны быть изолированы от воздействия влаги, скреплены между собой стальной лентой по ГОСТ 7566-69.
6.6. Пакеты панелей должны иметь высоту не более 1,6 м, массу - не более 5 т.
6.7. При транспортировании панели должны быть упакованы в специальные контейнеры, не допускающие смещения и увлажнения панелей. Допускается упаковка пакетов панелей с применением стяжек или иным способом при условии предохранения кромок панелей от повреждений при транспортировании, погрузке и выгрузке. На упаковку пакетов должна быть нанесена несмываемой краской надпись “Не бросать”.
6.8. Упаковка элементов крепления и заделки стыков панелей должна соответствовать ГОСТ 2991-76.
6.9. На торцевой или боковой поверхности каждой панели должны наноситься несмываемой краской марка панели, ее сорт, штамп ОТК или прикрепляться этикетка с указанием этих реквизитов.
6.10. Каждый контейнер (пакет) панелей должен снабжаться биркой со штампом ОТК с указанием:
наименования или товарного знака предприятия-изготовителя;
марки панелей и их сорта;
числа панелей в контейнере (пакете);
массы контейнера (пакета);
номера приемщика ОТК.
6.11. Предприятие-изготовитель должно гарантировать соответствие панелей и комплектующих деталей требованиям настоящего стандарта и сопровождать каждую партию панелей документом, удостоверяющим их качество, в котором указывают:
номер и дату выдачи документа;
наименование и адрес предприятия-изготовителя;
наименование и адрес получателя;
наименование продукции;
число мест упаковки;
число панелей в партии;
номер партии;
марку панелей;
сорт панелей;
материал листов, их толщины;
материал ребер (обрамления);
наименование и марку пенопласта, его плотность (объемную массу);
вид защитно-декоративного покрытия листов;
вид обработки ребер (обрамления) защитными составами;
результаты испытания;
обозначение настоящего стандарта.
В правом верхнем углу документа на панели высшей категории качества должно быть нанесено обозначение государственного Знака качества по ГОСТ 1.9-67.
6.12. Панели при погрузке, разгрузке и монтаже запрещается бросать, подвергать ударам, ставить на угол.
6.13. Строповка панелей при подъеме, погрузке и разгрузке должна производиться в соответствии с рабочими чертежами.
6.14. Транспортирование панелей в заводской упаковке может осуществляться любым видом транспорта в транспортных средствах, обеспечивающих сохранность панелей и упаковки.
6.15. Панели и комплектующие детали следует хранить в заводской упаковке на складах закрытого или полузакрытого типа в условиях, исключающих увлажнение панелей, с соблюдением мер противопожарной безопасности.
Контейнеры (пакеты) устанавливают на подкладках, укладываемых по плотному, тщательно выровненному основанию, по вертикали под прокладками.
ПРИЛОЖЕНИЕ
Рекомендуемое
ФОРМА ЖУРНАЛА ИСПЫТАНИЙ ПАНЕЛЕЙ (ОБРАЗЦОВ) НА ПОПЕРЕЧНЫЙ ИЗГИБ ДЛЯ КОНТРОЛЯ ПРОЧНОСТИ И ЖЕСТКОСТИ
|
Тип панели, марка панели, дата изготовления, номер партии, дата испытания |
Схема поперечного сечения панели (образца) |
Размеры панели (образца): длина, ширина, толщина, см |
Пролет, см |
Толщина листов, мм |
Материал ребер (обрамления) и геометрические размеры их сечения, марка и объемная масса пенопласта |
Контроль прочности |
Контроль жесткости |
Фамилия и должность ответственного лица |
||||
|
Контрольная нагрузка при проверке прочности панели (образца) |
Действительная предельная (разрушающая) нагрузка |
Характер разрушения |
Контрольная нагрузка при проверке жесткости |
Контрольный прогиб, мм |
Действительный максимальный прогиб при контрольной нагрузке при проверке жесткости, мм |
|||||||
|
|
|
|
|
|
|
|
|
|
|
|
|
|
СОДЕРЖАНИЕ
1. Классификация
2. Основные размеры
3. Технические требования
4. Правила приемки
5. Методы контроля и испытаний
6. Упаковка, маркировка, транспортирование и хранение
Приложение Рекомендуемое Форма журнала испытаний панелей (образцов) на поперечный изгиб для контроля прочности и жесткости
На сайте доступен для загрузки полный текст ГОСТ 24581-81 со всеми таблицами и формулами в формате pdf.
Вернуться к списку ГОСТов: 91 Строительные материалы и строительство



