ГОСТ Р 53655.2-2009 (ИСО 7765-2-1994)
ГОСТ Р 53655.2-2009 Пленки и листы полимерные. Определение ударной прочности методом свободнопадающего груза. Часть 2. Испытание на пробой с измерительной аппаратурой
Категории ГОСТ Р 53655.2-2009 по ОКС:
83. Резиновая, резинотехническая, асбесто-техническая и пластмассовая промышленность
83.140 Резиновые и пластмассовые изделия
83.140.10 Пленки и листы
Коды документа ГОСТ Р 53655.2-2009:
Код КГС: Л29
Код ОКСТУ: 2209
Статус документа: действует, введён в действие 01.01.2011
Название на английском языке: Plastics film and sheeting. Determination of impact resistance by the free-falling weight method. Part 2. Instrumented puncture test
Число страниц: 16
Предисловие
Цели и принципы стандартизации в Российской Федерации установлены Федеральным законом от 27 декабря 2002 г. № 184-ФЗ «О техническом регулировании», а правила применения национальных стандартов Российской Федерации - ГОСТ Р 1.0-2004 «Стандартизация в Российской Федерации. Основные положения»
Сведения о стандарте
1 РАЗРАБОТАН Открытым акционерным обществом «Институт пластических масс имени Г.С. Петрова» (ОАО «Институт пластмасс») и Открытым акционерным обществом «Межотраслевойинститут переработки пластмасс - НПО «Пластик» (ОАО «МИПП - НПО «Пластик») на основе аутентичного перевода на русский язык указанного в пункте 4 стандарта, который выполнен ФГУП «СТАНДАРТИНФОРМ»
2 ВНЕСЕН Техническим комитетом по стандартизации ТК 230 «Пластмассы, полимерные материалы, методы их испытаний»
3 УТВЕРЖДЕН И ВВЕДЕН В ДЕЙСТВИЕ Приказом Федерального агентства по техническому регулированию и метрологии от 15 декабря 2009 г. № 1020-ст
4 Настоящий стандарт является модифицированным по отношению к международному стандарту ИСО 7765-2:1994 «Пленки и листы пластмассовые. Определение ударной прочности методом свободнопадающего заостренного груза. Часть 2. Испытание на прокол с измерительной аппаратурой» (ISO 7765-2:1994 «Plastics film and sheeting - Determination of impact resistance by the free-falling dart method - Part 2: Instrumented puncture test»). При этом дополнительные слова, фразы, показатели, их значения, включенные в текст стандарта для учета потребностей национальной экономики Российской Федерации, выделены полужирным курсивом с подчеркиванием сплошной горизонтальной чертой
5 ВВЕДЕН ВПЕРВЫЕ
Информация об изменениях к настоящему стандарту публикуется в ежегодно издаваемом информационном указателе «Национальные стандарты», а текст изменений и поправок – в ежемесячно издаваемых информационных указателях «Национальные стандарты». В случае пересмотра (замены) или отмены настоящего стандарта соответствующее уведомление будет опубликовано в ежемесячно издаваемом информационном указателе «Национальные стандарты». Соответствующая информация, уведомление и тексты размещаются также в информационной системе общего пользования - на официальном сайте Федерального агентства по техническому регулированию и метрологии в сети Интернет
1 Область применения
1.1 Испытания по ГОСТ Р 53655.1 и настоящему стандарту используют для характеристики поведения полимерной пленки, тонких листов, фрагментов тонкостенных изделий (далее -пленка) под действием ударной нагрузки, приложенной под прямым углом к плоскости пленки.
1.2 ГОСТ Р 53655.1 применяют, если для характеристики поведения пленки под действием ударной нагрузки достаточно определить энергию разрушения. Настоящий стандарт применяют, если для характеристики поведения пленки под действием ударной нагрузки требуется запись диаграммы «усилие-деформация» или «усилие-время» при практически постоянной скорости бойка в момент удара.
Настоящий стандарт применяют, если:
- необходимые измеряемые значения показателей могут быть получены только из таких диаграмм или
- число образцов для испытаний ограничено.
1.3 Настоящий метод испытания распространяется на пленки толщиной до 1 мм и дает возможность сравнивать пленки по значениям усилия пробоя при ударе, двухосной деформируемости и способности пленки поглощать энергию. Кроме того, при испытании можно определить область перехода от хрупкого к вязкому состоянию пленки, изменяя температуру, скорость падения груза или относительную влажность.
Примечание - Настоящий метод неприменим для пленок толщиной более 1 мм.
1.4 Результаты испытаний различных пленок сопоставимы, если условия подготовки образцов, их толщина, состояние поверхности и условия испытаний идентичны. Для полной характеристики пленки при ударе требуется, чтобы определения выполнялись как функции от скорости деформирования и температуры для различных состояний материала пленки, например кристалличности и содержания влаги.
2 Нормативные ссылки
В настоящем стандарте использованы нормативные ссылки на следующие стандарты:
ГОСТ Р 53655.1-2009 Пленки и листы полимерные. Определение ударной прочности методом свободнопадающего груза. Часть 1. Ступенчатые методы (ИСО 7765-1:1994, MOD)
ГОСТ 12423-66 Пластмассы. Условия кондиционирования и испытания образцов (проб) (ИСО 291:1979 «Пластмассы. Стандартные атмосферные условия для кондиционирования и испытаний», MOD)
ГОСТ 17035-86 Пластмассы. Методы определения толщины пленок и листов (ИСО 4593:1979 «Пластмассы. Пленка и листы. Определение толщины механическим сканированием», MOD)
Примечание - При пользовании настоящим стандартом целесообразно проверить действие ссылочных стандартов в информационной системе общего пользования - на официальном сайте Федерального агентства по техническому регулированию и метрологии в сети Интернет или по ежегодно издаваемому информационному указателю «Национальные стандарты», который опубликован по состоянию на 1 января текущего года, и по соответствующим ежемесячно издаваемым информационным указателям, опубликованным в текущем году. Если ссылочный стандарт заменен (изменен), то при пользовании настоящим стандартом следует руководствоваться заменяющим (измененным) стандартом. Если ссылочный стандарт отменен без замены, то положение, в котором дана ссылка на него, применяется в части, не затрагивающей эту ссылку.
3 Термины и определения
В настоящем стандарте применены следующие термины с соответствующими определениями:
3.1 максимальное усилие FM: Наибольшее усилие, оказываемое бойком в направлении удара в процессе испытания (рисунки 1 - 3).
3.2 деформация при максимальном усилии sM: Абсолютная деформация в направлении удара в центре испытуемого образца, соответствующая максимальному усилию. Для материалов, имеющих на диаграмме «усилие-деформация» плоский участок максимального усилия, деформацию определяют в центре этого участка (рисунок 1).
3.3 энергия при максимальном усилии WM: Определяют как площадь под кривой «усилие-деформация», ограниченную началом координат, максимальным усилием и деформацией при максимальном усилии (рисунки 1 - 3).
3.4 полная энергия WT: Суммарная энергия, затраченная на проникновение бойка в испытуемый образец и пробой образца (рисунки 1 - 3).
В отличие от результатов аналогичных испытаний на пробой с измерительной аппаратурой хрупких пластмасс в виде образцов для испытаний толщина образца - свыше 1 до 4 мм.
Примечание - Данное положение заменяет ссылку на ИСО 6603-2:1989.
На диаграмме «усилие-деформация» при испытаниях по настоящему стандарту часто имеется четкая точка первого повреждения (разрушения), совпадающая с резким падением усилия. Если заинтересованные стороны согласны считать эту точку критерием разрушения (характеристической точкой), используют нижеследующие дополнительные определения.
3.5 разрушающее усилие FF: Усилие, оказываемое бойком в направлении удара, измеренное в точке разрушения (рисунки 1 и 2).
3.6 деформация при разрушении, sp: Абсолютная деформация в направлении удара в центре испытуемого образца, измеренная в точке разрушения (рисунки 1 и 2).
3.7 энергия разрушения WF: Определяют как площадь под кривой «усилие-деформация», ограниченную началом координат, разрушающим усилием и деформацией при разрушении (рисунки 1 и 2).
Примечания
1 Если на диаграмму «усилие-деформация» влияют эффекты динамического резонанса, для получения показателей по 3.1 и 3.4 можно использовать усредненную кривую. Однако это явление редко происходит при испытании полимерной пленки.
2 Результаты испытания пленок с одинаковой степенью упорядоченности структуры (кристалличностью и одинаковой ориентацией), толщина которых отличается не более чем в 1,5 раза, можно сравнивать, используя приведенные значения (Fм/d, FF/d, WM/d и WF/d).
4 Сущность метода
Испытуемый образец пробивают бойком насквозь перпендикулярно к поверхности при равномерной скорости. Полученные в результате измерений диаграммы «усилие-деформация» или «усилие-время» записывают с использованием электронной аппаратуры. Во время испытания испытуемый образец должен прочно удерживаться в зажимах.
Диаграмма «усилие-деформация», полученная в результате этих испытаний, характеризует поведение материала под действием удара. Например, разрушение может быть «хрупким», «пластичным», «вязким» или характеризоваться начальным повреждением или зарождением и распространением трещины. Кроме того, диаграмма может отражать динамические эффекты, например резонанс датчик нагрузки - боек, резонанс образца и инерционные пики, возникающие при первоначальном контакте образца с бойком (рисунки 1 - 3).
Во всех случаях при анализе этих явлений следует учитывать, что метод их оценки окончательно не установлен и продолжает уточняться путем научных исследований.

Рисунок 1 - Диаграмма (схема) зависимости «усилие-деформация» для очень вязких материалов

Рисунок 2 - Диаграмма (схема) зависимости «усилие-деформация» для вязких материалов
5 Аппаратура
Аппаратура для проведения испытаний включает: механическое испытательное устройство для приложения усилия, приборы для измерения усилия и деформации образца и толщиномер.
5.1 Испытательное устройство
Основные части испытательного устройства: носитель энергии (обычно падающий груз, можно использовать груз с пневматическим, гидравлическим или пружинным приводом или копер маятникового типа для испытания на удар), боек, зажимное устройство, состоящее из опоры для образца и зажимного кольца (рисунки 4 и 5).
Испытательное устройство должно обеспечивать пробой испытуемого образца в центре при постоянной скорости перпендикулярно к поверхности образца. Аппаратура должна обеспечивать измерение усилия, оказываемого на испытуемый образец в направлении удара, и деформации испытуемого образца в направлении удара (рисунок 4). Рекомендуемое для этого оборудование: испытательные машины с падающим грузом; маятники, достаточно длинные, чтобы траекторию их падения можно было приближенно считать прямой линией, или высокоскоростные разрывные испытательные машины с соответствующими приспособлениями.

Рисунок 3 - Диаграмма (схема) зависимости «усилие-деформация» для хрупких материалов
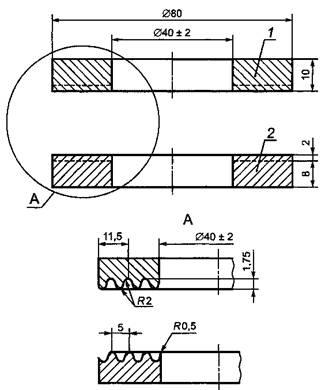
1 - испытуемый образец; 2 - боек с полусферической ударной поверхностью диаметром D1; 3 - датчик нагрузки (предпочтительное положение); 4 - стержень; 5- зажимное кольцо; 6 - опора для испытуемого образца внутренним диаметром D2
Рисунок 4 - Схема рекомендуемого испытательного устройства

1 - зажимное кольцо; 2 - опора для испытуемого образца
Рисунок 5 - Зажимное устройство
5.1.1 Носитель энергии
Энергия удара, т.е. энергия падающего груза, должна быть значительно больше полной энергии WT. Влияние скорости (в диапазоне скоростей, используемых при испытании) на вязкоупругое поведение пластмасс относительно мало, поэтому допускается уменьшение скорости бойка на 20 %.
Это условие обеспечивается машинами с падающим грузом, если
m ≥ 3 WT/gH0, (1)
где
m - масса падающего груза, кг;
WT - полная энергия, Дж;
g - ускорение свободного падения (9,81 м/с2);
Н0 - высота падения, м.
Падение груза должно ограничиваться направляющей или направляющими. Потери на трение при падении должны быть минимальными. При наличии потерь на трение они должны быть учтены в расчетах.
Примечания
1 В большинстве случаев достаточно использовать нагруженный боек общей массой m, равной 10 кг.
Рекомендуется использовать нагруженный боек обшей массой 1,5-2,0 кг.
2 Датчики для измерения скорости следует располагать рядом с точкой удара, чтобы уменьшить ошибки из-за трения между падающим грузом и направляющими.
При использовании высокоскоростных разрывных испытательных машин с гидравлическим приводом любое отклонение от заданной скорости в момент удара должно подтверждаться, например, путем построения кривых зависимости деформации от времени и проверки их наклона.
5.1.2 Боек
Рекомендуется использовать стальной боек с полированной, закаленной полусферической ударной поверхностью диаметром D1 равным (20,0 ± 0,2) мм. Допускается использовать боек с ударной поверхностью диаметром, равным (10,0 ± 0,1) мм.
Датчик нагрузки должен быть установлен на бойке как можно ближе к кончику бойка. Пример - см. рисунок 4.
Полусферическую поверхность бойка можно присыпать тальком или смазать маслом, чтобы уменьшить трение.
Собственная частота fn системы «боек-датчик нагрузки» должна превышать значение, установленное в 5.2.
5.1.3 Зажимное устройство
Устройство для зажима испытуемого образца должно иметь внутренний диаметр D2, равный (40 ± 2) мм. Зажимное устройство должно быть сконструировано таким образом, чтобы можно было зажать образец в форме круга в плоскости и прочно удерживать в таком положении в процессе испытания, при этом предварительное относительное удлинение испытуемого образца в радиальном направлении не должно превышать 0,01 %. Оба требования можно выполнить, используя зажимающие плоскости с ручным или гидравлическим приводом. Рекомендуется помещать кольца из тонкой наждачной бумаги на опору для образца. На рисунке 5 показано рекомендуемое зажимное устройство.
5.2 Приборы для измерения усилия и деформации образца и толщины образца
Приборы для измерения усилия и деформации должны обеспечивать измерение в пределах 5 % их максимального значения.
Пример - Если электронный прибор имеет точность 0,4 % во всем измерительном диапазоне (полной шкале), то для значения, составляющего 20 % полной шкалы, точность будет составлять 2 %.
5.2.1 Датчик нагрузки
В связи с тем, что продолжительность удара невелика, следует использовать только электронные датчики нагрузки с высокой собственной частотой. Кратчайший интервал времени ∆tFmin, в течение которого необходимо провести измерение, должен быть меньше или равен 5/fn, где fn собственная частота системы «боек-датчик нагрузки».
Для полосы частот BT усилителя постоянного или переменного тока с нижней границей полосы 0 Гц применяют по аналогии следующее:
BT ≥ 16/∆tFmin; (2)
(3)
где
Bj - индивидуальная полоса частот j-й ступени усилителя.
Примечание - Примером такой цепи измерений является пьезоэлектрический датчик нагрузки, установленный между бойком и стержнем (рисунок 4) и соединенный с электрометрическим усилителем.
5.2.2 Устройство для измерения деформации образца
Деформацию образца в направлении удара можно определить непосредственно с помощью электронного преобразователя, получая диаграмму «усилие-деформация», или записать диаграмму «усилие-время» и определить деформацию в соответствии с 7.4.
5.2.3 Толщиномер
Прибор для измерения толщины образца должен отвечать требованиям ГОСТ 17035 и обеспечивать измерение толщины d образца в пределах 1 мкм.
6 Образцы для испытания
6.1 Отбор и подготовка образцов для испытания
Отбор образцов выполняют в соответствии с рекомендациями, приведенными в нормативном или техническом документе на соответствующую пленку.
Диаметр образцов - (80 ± 2) мм. Поверхность образцов должна быть, по возможности, однородной, качество кромок образцов не имеет значения.
Не следует использовать неоднородные кромочные полосы рулонов пленки. Если требуется достаточно большое число образцов для определения зависимости измеренных значений от температуры, образцы для полной серии испытаний перед испытанием должны быть перемешаны.
6.2 Число испытуемых образцов
Для испытаний используют не менее 5 образцов (в случае возникших разногласий испытывают 20 образцов). Если необходимо определить зависимость значений измеряемых показателей от температуры, относительной влажности или других параметров, обычно испытывают по 5 образцов (на каждое измерение), в том числе и в случае возникших разногласий. Число испытуемых образцов требуется удвоить, если результат испытания зависит от того, с какой стороны испытывают пленку.
6.3 Кондиционирование образцов для испытания
Образцы для испытания необходимо кондиционировать в соответствии с требованиями нормативных или технических документов на испытуемый материал или по согласованию между заинтересованными сторонами. В ином случае выбирают наиболее подходящие условия в соответствии с ГОСТ 12423.
7 Порядок проведения испытания
7.1 Условия испытания
Испытания следует проводить в одной из стандартных атмосфер, установленных в ГОСТ 12423. Если измерения должны быть выполнены при различных температурах или различных значениях относительной влажности, испытуемые образцы должны быть выдержаны при каждом конкретном наборе условий испытания, пока при конкретной температуре или влажности результаты не будут изменяться. Время кондиционирования уменьшается при повышенных температурах испытания.
7.2 Измерение толщины
Определяют толщину d каждого образца в соответствии с ГОСТ 17035 с точностью 1 мкм, за результат принимают среднеарифметическое значение трех измерений, выполненных в равноотстоящих друг от друга точках окружности радиусом 5 мм, расположенной в центре образца.
7.3 Помещение образца в зажим
Зажатый образец должен быть плоским. Напряжение, возникающее при зажиме, не должно вызвать удлинение образца более чем на 0,01 % в радиальном направлении (5.1.3).
Примечание - Предварительное удлинение можно определить, используя измерительный микроскоп. Однако обычное зажимное устройство всегда обеспечивает выполнение вышеуказанного условия.
7.4 Испытание на пробой
Испытание проводят при скорости удара (4,4 ±0,2) м/с, соответствующей высоте падения Н0, равной 1 м. В процессе испытания скорость не должна изменяться более чем на 20 % ее значения при ударе по образцу (см. условия падения груза в 5.1.1).
В процессе испытания записывают диаграмму «усилие-деформация» или «усилие-время». Значения необходимых показателей следует определять по диаграмме или считывать с записывающего прибора.
Если невозможно получить удовлетворительную диаграмму вследствие наличия резонанса, то скорость удара необходимо уменьшить до 1 м/с.
Рекомендуемая скорость удара - 1,0-1,5 м/с.
Примечание - Используемая для испытания пленок (особенно изготовленных из относительно хрупких материалов) скорость удара, равная 4,4 м/с, обычно слишком велика, поэтому по согласованию заинтересованных сторон ее следует уменьшить.
Если предполагается, что результат испытания будет зависеть от того, с какой стороны испытывают образец, необходимо испытывать обе стороны образца (см. также 6.2).
8 Обработка результатов
За результат испытания принимают значение максимального усилия на диаграмме «усилие-деформация». Если из диаграммы «усилие-деформация» и/или по другой информации очевидно, что в испытуемом образце произошло зарождение трещины, соответствующую точку (характеристическую точку) на диаграмме «усилие-деформация» можно также использовать для определения результатов испытания.
Если в процессе испытания записывалась диаграмма «усилие-деформация», то усилие и деформацию в характеристической точке можно определять непосредственно по этой диаграмме. Соответствующие значения энергии определяют (путем планиметрии или другими методами, например путем интегрирования) по площади под кривой.
Если результаты получены в форме диаграммы «усилие-время», деформацию s, м, при максимальном усилии или усилии разрушения определяют путем аппроксимации (приложение А)
s ≈ (v0 - р/3m)xt, (4)
где
v0 - скорость перед ударом, м/с;
р - импульс, переданный до момента возникновения максимального усилия или до разрушения, Н•с (площадь под кривой «усилие-время»), определяемый по формуле (5)
(5)
m - масса падающего груза, кг;
t - время до максимального усилия или время до разрушения, с.
Примечание - Точный расчет деформации s проводят путем двойного интегрирования
(6)
Энергию при максимальном усилии WM и энергию при разрушении WF рассчитывают по формулам (7) и (8) соответственно:
WM = v0pM (1 - v0pM/4Е0); (7)
WF = v0pF (1 - v0pF/4E0), (8)
где
рM и pF рассчитывают по формуле (5) с верхним пределом интегрирования tM и tF соответственно;
Е0 - энергия бойка перед ударом, Дж.
Среднее значение, стандартное (среднеквадратическое) отклонение и коэффициент вариации полученных показателей рассчитывают для каждой серии испытаний.
Примечание - Вместо диаграммы или наряду с ней значение максимального усилия и деформации при максимальном усилии, а также энергию при максимальном усилии и полную энергию (после электронного интегрирования) можно регистрировать электронными средствами.
9 Прецизионность
Прецизионность настоящего метода испытания неизвестна, поскольку не получено данных межлабораторных исследований. Как только будут получены межлабораторные данные, заявление опрецизионности будет включено при следующем техническом пересмотре настоящего стандарта.
10 Протокол испытания
10.1 Протокол испытания должен включать следующую информацию:
- ссылку на настоящий стандарт:
- тип, марку, происхождение и дату получения испытуемого материала, а также другую информацию, касающуюся этого материала;
- дату выполнения измерений;
- сведения о методе отбора и подготовки образцов для испытания;
- среднее значение измеренной толщины d каждого испытуемого образца;
- условия испытания и используемый метод кондиционирования;
- описание способа, которым образцы помещали в зажимы;
- диаметр бойка D1 и характер поверхности бойка;
- число образцов, использованных для испытания;
- характеристическую точку, если она использовалась;
- среднеарифметическое значение результата испытания, стандартное отклонение и коэффициент вариации:
1) максимального усилия FM, H;
2) деформации при максимальном усилии sM, м;
3) энергии при максимальном усилии WM Дж;
4) полной энергии WT, Дж,
и факультативно:
1) усилия разрушения FF, H;
2) деформации разрушения sp, м;
3) энергии разрушения WF, Дж;
- диаграмму «усилие-деформация» F(s) или «усилие-время» F(t);
- собственную частоту fn и полную полосу частот BT усилителя;
- внешний вид испытуемых образцов после испытания (возможно с представительным испытуемым образцом в качестве иллюстрирующего примера);
- скорость удара при испытании v0, если она отличается от установленного значения 4,4 м/с;
- если применялись тальк или масло, указывают предприятие-изготовителя и марку материала.
Приложение А
(справочное)
Общие замечания
При поэтапном снижении температуры испытания пластмасс часто происходят переходы от вязкого состояния к хрупкому состоянию. При таких переходах энергия разрушения повышается. Причиной таких переходных состояний являются процессы молекулярной релаксации, которые возникают только при температурах выше определенного значения и увеличивают поглощение энергии удара.
Время проникновения в образец имеет значение, аналогичное температуре. Если время проникновения в образец сокращено, температура перехода смещается в область высоких температур. Взаимосвязь между временем и температурой определяется температурной зависимостью времени молекулярной релаксации, которое приближенно выражается уравнением Аррениуса
(А.1)
где
τ - время релаксации или время проникновения;
τ0 - период колебаний атомов или молекул;
Е - энергия активации;
k - константа Больцмана;
T - термодинамическая температура или температура перехода «вязкое-хрупкое» состояние на шкале температур.
Если температура испытания находится в области перехода, часто наблюдается значительный разброс результатов, т.к. разрушение части образцов является хрупким, а части - вязким. Например, для полиэтилена высокой плотности область перехода лежит в диапазоне температур от 105°С до 140°С в зависимости от относительной молекулярной массы и степени кристалличности.
Переход «вязкое-хрупкое» состояние в испытании на пробой можно определить по внешнему виду поврежденных образцов, по которым видно, что произошел разрыв с деформацией или без деформации. Два типа разрушения можно также различить с использованием диаграммы «усилие-деформация».
Для вязких-хрупких пластмасс оценка результатов испытаний связана с определенными трудностями, т.к. испытуемые образцы одной серии должны быть отнесены к двум разным группам материалов, а именно, к материалам, проявляющим хрупкое поведение, и к материалам, проявляющим вязкое поведение. В таких случаях средние значения и дисперсию нельзя определить статистически во всем диапазоне измерений. Тем не менее, для того чтобы охарактеризовать поведение материала, целесообразно использовать среднее значение и стандартное отклонение, вычисленные с использованием индивидуальных результатов измерений.
Когда имеется достаточное число результатов измерений для обеих групп материалов, требуемые характеристики можно рассчитать отдельно для хрупких и вязких образцов. При необходимости выбор результатов измерений, предназначенных для той или иной группы, следует проводить статистическими методами, обычно используемыми для этой цели.
Ключевые слова: пластмассы, пленки, листы, изделия, испытания, испытания на удар, испытания на пробой
Содержание
1 Область применения
2 Нормативные ссылки
3 Термины и определения
4 Сущность метода
5 Аппаратура
6 Образцы для испытания
7 Порядок проведения испытания
8 Обработка результатов
9 Прецизионность
10 Протокол испытания
Приложение А (справочное) Общие замечания
На сайте доступен для загрузки полный текст ГОСТ Р 53655.2-2009 со всеми таблицами и формулами в формате pdf.
Важно! Все документы ГОСТ представлены исключительно в ознакомительных целях. После ознакомления загруженные файлы необходимо удалить с носителя информации. Представленные на Plastinfo.ru документы не являются официальными и могут быть не актуальными на момент скачивания.