По материалам: "Полимерные композиционные материалы" Бобович Б.Б.,
Информационно-коммуникационная система профессионального образования
Технологии производства армированных пластиков
Как правило, процесс изготовления изделий из непрерывно армированных полимерных композиционных материалов совпадает с процессом получения самого композита.
Наибольшее практическое применение находят следующие способы производства изделий из армированных пластиков:
- контактное формование с укладкой пропитанного смолой волокнистого холста на форму;
- напыление волокнисто-полимерной композиции на поверхность формы;
- различные способы формования в закрытой форме;
- намотка пропитанного смолой волокна на форму;
- пултрузия, или формование профильных изделий путем протяжки волокна через ванну с полимером и калибрующую фильеру.
В зависимости от технологии формования значения свойств полимерных композитов могут отличаться в несколько раз. Выбор технологии зависит от конструкции изделия, условий его эксплуатации, объема изготовления и имеющихся производственных ресурсов.
Неправильная организация техпроцесса, неудовлетворительная подготовка исходных компонентов, несоблюдение технологических режимов (давления прессования, продолжительности и температуры процесса, предписаний по подготовке сырья и материалов) и многие другие причины могут значительно изменять свойства готовых изделий. Поэтому очень важно не только грамотно, с учетом конструкции и условий эксплуатации изделий, построить технологический процесс, но и при его реализации четко соблюдать технологические режимы. С этой целью необходимо на всех стадиях процесса осуществлять текущий контроль технологических параметров и свойств изготавливаемого изделия.
Для изготовления небольших серий крупногабаритных изделий сложной геометрической формы применяют послойную укладку ламината, используя в качестве связующего смолы холодного отверждения (эпоксидные, полиэфирные и др.). Эта технология называется контактным формованием (рис. 1).
Рис. 1. Схема контактного формования: 1 - форма; 2 - ламинат; 3 - прикаточный ролик

При таком способе ламинат 2, представляющий собой армирующий материал, пропитанный полимерной композицией, укладывается на специальную негативную форму 1 (матрицу), затем тщательно прикатывается валиком 3 с целью уплотнения и удаления пузырьков воздуха, после чего полимерная композиция отверждается. Поверхность готового изделия является зеркальным отражением поверхности использованной формы и полностью воспроизводит ее фактуру.
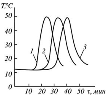
При больших толщинах будущего изделия из стеклопластика нанесение ламината проводят в несколько стадий, давая возможность каждому слою отвердиться и охладиться. Это связано с тем, что отверждение смолы происходит с выделением значительного количества тепла (рис. 2). В результате происходит перегрев отверждающейся композиции, появляются значительные внутренние напряжения, приводящие к деформациям, короблению и растрескиванию готовых изделий.
Рис. 2. Влияние продолжительности полимеризации (t) смолы с коротким (1), средним (2) и большим (3) временем гелеобразования на температуру ламината

В последние годы получил развитие способ изготовления крупногабаритных изделий из стеклопластика путем напыления на формообразующую оснастку композиции, содержащей связующее (полиэфирную смолу и катализатор отверждения) и рубленое стекловолокно (рис. 3).
Рис. 3. Схема производства изделий из стеклопластика методом напыления: 1 - форма; 2 - ламинат; 3 - режущее устройство; 4 - напылительный пистолет; 5 - бобина ровинга

Важной особенностью напылительного оборудования последнего поколения является то, что смешение смолы и катализатора отверждения происходит вне напыляющего пистолета, т.е. в потоке воздуха, транспортирующего и перемешивающего все три компонента (смолу, катализатор отверждения и рубленое стекловолокно). Такая конструкция напыляющего оборудования позволяет избежать отверждения полимерной композиции внутри смесительной камеры и в подающих шлангах при внутреннем смешении компонентов. Поток воздуха выполняет двойную функцию: перемешивает компоненты и транспортирует смесь к матрице.
Как и при послойной ручной укладке пропитанной смолой ткани, напыленный на матрицу слой композиции прикатывается валиком с целью уплотнения и удаления пузырьков воздуха. Увеличение содержания волокна в композиции приводит к росту прочностных свойств. Однако для хорошей пропитки волокна связующим его содержание при такой технологии не должно превышать 33-35 % по массе.
При использовании технологии напыления не требуются предварительный раскрой стекломатериалов, подготовка полимерной композиции и пропитка ею армирующего наполнителя. Это позволяет сократить производственные площади, повысить производительность труда и снизить себестоимость продукции.
Технология производства изделий путем напыления наиболее экономически целесообразна при изготовлении крупногабаритных изделий, т.к. количество образующихся отходов зависит от площади изделия и снижается с ее увеличением. Так, при площади изделия более 1 м2 количество отходов не должно превышать 2 %.
Для многих областей применения стеклопластиков, особенно для изготовления архитектурно-строительных изделий, продукции культурно-бытового назначения, водных горок и аттракционов, большое значение имеет цветовое оформление изделий. Достижение требуемых цветов изделий с одновременным повышением их устойчивости к воздействию УФ-облучения, а также к различным агрессивным средам, истиранию и другим нагрузкам осуществляется путем использования в качестве лицевого слоя специальных полимерных композиций (гель-коутов), окрашенных в требуемый цвет. Для их изготовления используются полиэфирные смолы с более высокими физико-механическими и физико-химическими свойствами, чем смолы, применяемые для изготовления стеклопластика.
Для окрашивания гель-коутов в требуемые цвета используют органические и неорганические пигменты. Используя комбинации цветных паст, современная промышленность поставляет потребителям сотни гель-коутов различных цветовых оттенков.
Толщина покрытия составляет 0,4-0,6 мм. При недостаточной толщине через него проступает структура армирующего наполнителя и снижается его долговечность, а при завышенной толщине гель-коут склонен к растрескиванию и появлению других дефектов. Неравномерная толщина слоя гель-коута также приводит к снижению свойств лицевого слоя, поэтому ее необходимо тщательно контролировать в процессе напыления на матрицу.
Прессование стеклопластиков в замкнутых объемах - достаточно старый процесс. Он используется для производства формованных изделий с заданной поверхностью и точными размерами. Формование проводится под давлением при комнатной или повышенной температуре. Замкнутое пространство, соответствующее геометрии изделия, может создаваться разъемной формой (рис. 4) или с помощью эластичной диафрагмы (рис. 5). Роль эластичной диафрагмы часто выполняет резиновый мешок, который может обжимать заготовку за счет давления воздуха, подаваемого в него, либо путем создания вакуума между мешком и заготовкой.
Рис. 4. Схема прессования изделия в замкнутой форме: 1 - неподвижная плита пресса; 2 - пуансон; 3 - заготовка; 4 - матрица; 5 - подвижная плита пресса

Рис. 5. Схема прессования изделия при помощи эластичной диафрагмы: 1 - форма; 2 - запорные болты; 3 - верхняя плита; 4 - эластичная диафрагма

Необходимость нагрева формы с заготовкой определяется свойствами связующего. Так, использование в качестве связующего фенолформальдегидных смол требует нагрева материала в течение 15-20 мин при температуре 190-200 °С. Применение полиэфирных и эпоксидных смол позволяет проводить отверждение при комнатной температуре.
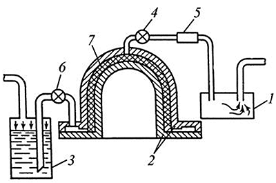
В последние годы широко используется формование армированных пластиков по RTM-процессу (resin transfer moulding). При этой технологии также используют закрытые формы, состоящие из двух частей (рис. 6).
Рис. 6. Схема формования изделий по RTM-процессу: 1 - водный фильтр; 2 - форма; 3 - емкость со связующим; 4 - кран вакуумной линии; 5 - вакуум-насос; 6 - кран линии подачи связующего; 7 - армирующий наполнитель

Отверждение связующего производится при комнатной температуре. Процесс заключается в следующем. В форму 2 закладывается армирующий волокнистый наполнитель 7 в виде ткани, холста и других волокнистых материалов. Форма герметично запирается, и в ней с помощью вакуум-насоса 5 создается вакуум. После этого в форму из емкости 3 под небольшим давлением подается полимерная композиция (смола с катализатором отверждения). При этом связующее растекается по всему объему формы и пропитывает армирующий наполнитель.
Форма должна иметь достаточную жесткость, чтобы ее внутреннее пространство не изменялось ни под действием вакуума, ни при подаче смолы под давлением. Изменение геометрии формы приводит к появлению искажений в изделии. Стабильность внутреннего пространства формы при формовании изделия достигается созданием на ее наружной поверхности ребер жесткости. Однако, поскольку формование производится при низком давлении, форма может быть сделана из стеклопластика, бетона и других недорогих материалов.
Горячее прессование и RTM-процесс позволяют получать изделия из армированных полимерных композитов с высоким качеством всей поверхности. Поскольку в обоих случаях формование проводится в закрытой форме под давлением, то получаемое изделие по всей площади контакта с формой воспроизводит ее поверхность и имеет заданную формой не только геометрию, но и фактуру поверхности.
Применение этих технологий имеет важные преимущества. Оно ускоряет процесс отверждения смолы, увеличивает производительность труда, сокращает производственные площади, снижает трудоемкость, повышает точность размеров изделий и их стабильность, сокращает объемы образования отходов, повышает механические свойства изделий и улучшает санитарно-гигиенические условия производства.
Следует, однако, заметить, что стоимость прессовой оснастки довольно высока и поэтому все перечисленные преимущества прессования реализуются только при массовом производстве однотипной продукции.
Большое значение при прессовании изделий в закрытых формах имеет правильный выбор разделительных составов, которыми покрывают внутренние поверхности полуформ. Это облегчает раскрытие форм и удаление из них отформованных изделий, а также продлевает сроки эксплуатации технологической оснастки.
При изготовлении цилиндрических изделий из армированных полимеров используют технологию намотки. По этой технологии на вращающуюся оправку наматывается волокно, пропитанное связующим. Пропитка осуществляется в ванне со связующим, через которую проходит непрерывное волокно или жгут.
Намотка производится под углом к продольной оси оправки для повышения прочности готового изделия в осевом направлении. Укладка армирующего наполнителя осуществляется по различным схемам в зависимости от условий работы готового изделия. В промышленности применяют следующие схемы намотки: кольцевую, орбитальную, продольно-поперечную, спиральную.
Этим способом производят трубы большого диаметра (до 5 м), цистерны для перевозки химических продуктов, корпуса ракет и другие изделия. При изготовлении цистерны отдельно изготавливают трубу способом намотки и две обечайки методом напыления, которые затем соединяют по клеевой технологии с помощью фланцев. Формование замкнутых корпусов цилиндрической формы производят в виде коконов путем орбитальной намотки с усилением отдельных наиболее нагруженных участков корпуса.
Процесс намотки производится в автоматическом режиме с помощью программного управления.
Для изготовления длинномерных элементов с небольшим поперечным сечением, таких как стержни, трубки, уголки, швеллеры используют непрерывное формование способом пултрузии (рис. 7).
Рис. 7. Установка для формования профилей из стеклопластика способом пултрузии: 1 - шпулярник; 2 - пропиточная ванна; 3 - формующая матрица; 4 - камера термообработки 5 - камера охлаждения; 6 - тянущее устройство; 7 - дисковая пила; 8 - станина; 9 - пульт управления

Технология производственного процесса заключается в том, что стекловолокнистый материал в виде жгутов, лент и т.п. из шпулярника 1 протягивают через ванну 2, наполненную полимерной композицией, а затем - через нагретую до 130-150 °С формующую матрицу 3 требуемой конфигурации. При этом методе отношение смолы к армирующему материалу равно 3:1. Прочность при разрыве таких изделий в продольном направлении достигает 1100 МПа.
В результате на выходе получается армированный профиль, конфигурация которого повторяет форму фильеры. Этим методом можно получать изделия с любым профилем.
Основными узлами пултрузионной установки являются секция подачи стеклонаполнителя, пропиточная секция, фильера, тянущий узел, гидромаслостанция, пила и контрольный узел, который включает в себя блок питания, блок управления нагревательными элементами и блок управления тянущим узлом.
В современных пултрузионных установках нагревание осуществляется с помощью переменного электрического поля высокой частоты, что позволяет осуществлять практически мгновенный нагрев материала до заданной температуры в любом объеме. Использование высокочастотного нагрева позволяет изготавливать способом пултрузии толстостенные изделия с высокой производительностью, достигающей 6 м/мин.
Особый интерес представляет производство из армированных полимерных композитов пустотелых изделий оболочковой формы. Как правило, такие изделия изготавливаются путем намотки на оправку, которая может быть:
- неразборной;
- разборной;
- выплавляемой;
- разрушаемой;
- выжигаемой;
- надувной;
- комбинированной.
Неразборная оправка используется при изготовлении изделий, открытых хотя бы с одного торца и позволяющих извлечение оправки. Такая оправка используется многократно. Использование оправки такого типа ограничено конструкцией изделия и во многих случаях невозможно. Формование крупногабаритных изделий с применением неразборной оправки затруднено также в связи с необходимостью приложения больших усилий для ее выемки из отформованного изделия.
При невозможности осевого извлечения оправки из готового изделия сложной формы ее делают разборной. Разборные оправки имеют высокое качество поверхности, легко извлекаются из готового изделия, используются многократно, но стоят довольно дорого.
Разрушаемые оправки имеют одноразовое применение, изготавливаются из относительно прочного, но в то же время легко разрушаемого материала, например, гипса. Стоимость их высока, а после разрушения оправки ее куски подлежат уничтожению.
Для изготовления одноразовых оправок возможно использование песчано-смоляных композиций и легкоплавких материалов. Такие оправки удобны в работе, т.к. их изготовление достаточно просто, а материалы для их производства могут быть использованы многократно.
В качестве легкоплавких материалов для изготовления оправок применяют парафино-восковые составы, некоторые термопласты, эвтектические сплавы. Выплавляемые оправки могут быть использованы только при производстве изделий из армированных композитов на основе связующего холодного отверждения. Особые преимущества оправки из выплавляемых материалов возникают при изготовлении изделий со сложной поверхностью, с полостями и каналами.
Выжигаемые оправки изготавливают из легкогорючих материалов низкой плотности, например, из пенополистирола. Они дешевы, т.к. расход материалов на их производство невелик, а технология изготовления проста. Такие оправки также удобно использовать для производства изделий сложной формы, имеющих полости.
И, наконец, надувные оправки изготавливают из эластичных материалов, например, резины. Такие оправки надуваются воздухом и могут служить в качестве оснастки для производства оболочковых конструкций из полимерных композитов. Однако применение надувных оправок ограничивается возможностями получения изделий с точными размерами и рядом других технологических причин.
Независимо от технологии производства изделий из армированных полимерных материалов на свойства готовой продукции большое влияние оказывает режим отверждения связующего, т.е. температура и продолжительность отверждения. Многие связующие (полиэфирные и эпоксидные смолы) отверждаются при комнатной температуре, однако для достижения изделием из этих полимеров максимальных прочностных свойств необходимо провести постотверждение, т.е. дополнительное отверждение при повышенной температуре (60-80 °С) в течение нескольких часов.
Вместе с тем, некоторые связующие (например, фенолформальдегидные смолы) не способны отверждаться при комнатной температуре, и изделия из них отверждают при повышенной температуре, которая зависит от природы связующего.
Важную роль в производстве формованных изделий из полимерных композитов играет конструкция технологической оснастки, от которой зависит не только качество изделия, его поверхность и форма, но и сама возможность получения изделия заданной формы, а также его стоимость. Конструкция и стоимость технологической оснастки для изготовления армированных пластиков зависит от принятой технологии производства и объема производства однотипных изделий.
Таким образом, технологические возможности производства изделий из армированных композиционных материалов разнообразны, выбор технологии производства - очень важная стадия при разработке и конструировании изделий, от которой зависят не только свойства готовой продукции, но и ее себестоимость.
При выборе способа производства необходимо учитывать: конструкцию изделия, условия его эксплуатации, свойства сырьевых материалов, режимы отверждения связующего, технологию подготовки армирующих материалов, стоимость технологической оснастки и объемы производства изделий из композиционных армированных пластиков.
Конструирование армированных полимерных материалов
Как уже отмечалось выше, особенности армированных композиционных материалов предполагают совмещение двух важнейших процессов: производства самого материала и производства изделия из него. Поэтому на стадии выбора материала необходимо сконструировать его с учетом требований, предъявляемых к изделию условиями эксплуатации. Как известно, свойства армированных полимерных композитов очень сильно зависят от свойств связующего, типа армирующего материала, схемы армирования и взаимодействия между связующим и армирующим наполнителем. Благодаря этому у разработчиков имеется реальная возможность конструировать не только изделие, но и композиционный материал, из которого оно будет изготовлено.
При конструировании изделий из композиционных полимерных материалов следует сформулировать технические требования к ним, после чего сопоставить эти требования с реальными возможностями материала. При этом необходимо особое внимание обратить на те свойства композитов, которые существенно отличаются от характеристик традиционно используемых для этих целей материалов. К таким свойствам относятся существенно более высокий температурный коэффициент линейного расширения по сравнению с металлом, низкая жесткость и недостаточная усталостная прочность при знакопеременных нагрузках.
Зная технические требования к материалу, необходимо спроектировать его состав и структуру. Под этим подразумевается, во-первых, выбор полимерной основы, отвердителя, катализатора отверждения и их соотношение в полимерной композиции, используемой в качестве связующего. Кроме того, состав материала определяется природой и структурой армирующего наполнителя, который должен быть выбран при проектировании.
Необходимо не только выбрать тип и природу армирующего материала, но и определить оптимальную схему армирования, поскольку для пластиков, имеющих в своем составе непрерывный наполнитель в виде волокна, нетканого полотна (мата) или ткани, характерна значительная анизотропия механических свойств. Наибольшее различие свойств проявляется в однонаправленных армированных материалах. Так, для стеклопластиков прочность вдоль волокон составляет 2000 МПа, в то время как в перпендикулярном направлении всего 40 МПа, т.е. в 50 раз меньше.
Правильный выбор схемы армирования с учетом условий эксплуатации изделия и вектора прилагаемой нагрузки позволяет многократно увеличить его эксплуатационную долговечность.
Итак, регулируя состав связующего, тип наполнителя и схему армирования, возможно уже на стадии проектирования армированного композиционного материала создать предпосылки для получения изделия с необходимыми эксплуатационными характеристиками.
После этого следует спроектировать технологию производства изделия, поскольку на его свойства будут влиять:
- температура и влажность исходного сырья;
- температура отверждения связующего;
- давление формования;
- режим постотверждения отформованных изделий.
При расчете состава и структуры материала и изделия пользуются эмпирическими формулами и соответствующим программным обеспечением. Расчеты, выполненные при проектировании материала и изделия, базируются на известных для соответствующих материалов характеристиках и их зависимостях от тех или иных параметров состава и структуры армированного композиционного материала.
На следующем этапе конструирования проводится технологическая отработка изделия с выпуском экспериментальных образцов. На этом этапе проверяется соответствие свойств опытных образцов изделия из армированного композита результатам выполненных расчетов и заданным техническим требованиям. После этого при необходимости проводится корректировка конструкции материала и изделия.
При конструировании армированных полимерных композиционных материалов широко используется компьютерная обработка данных.
Большое число и разнообразие программных продуктов для технологического и конструкционного проектирования изделий из армированных композитов свидетельствует о том, что использование программного обеспечения стало необходимым элементом композитной индустрии.
Программы позволяют повышать качество продукции, сокращать длительность разработки и организации производства изделия, комплексно решать задачи его оптимизации. Использование программных продуктов, начинавшееся с проектирования армированных полимерных материалов и изделий из них в авиационной и ракетно-космической отраслях промышленности, сегодня позволяет решать аналогичные задачи в других областях так же качественно и быстро.
«Интеллектуальные» полимерные композиты
Как мы видели, свойства армированных полимерных материалов зависят от их состава, структуры и технологии. Знание этих зависимостей позволяет конструировать материалы и изделия с требуемым уровнем свойств. Возможность встраивания в структуру такого композита элементов, способных реагировать на изменение окружающей среды, позволяет пойти дальше и создать «интеллектуальные» материалы. Такие материалы способны адаптироваться к изменяющимся условиям с целью самосохранения, поддержания возможности исполнять свои функциональные свойства и обеспечения работоспособности всей конструкции в изменившихся условиях.
«Интеллектуальные» материалы способны адекватно новым нагрузкам изменять свои характеристики и форму и самостоятельно регулировать степень своей реакции на новые условия в соответствии с уровнем их изменения.
В результате создания «интеллектуальных» материалов в материаловедении появились понятия «обучаемости» материалов и «ощущения» ими предельных ситуаций.
Для «интеллектуального» поведения материал должен иметь нелинейно изменяющиеся свойства. «Интеллектуальность» материалов основывается на:
- контроле основных функций;
- оптимизации свойств путем обучения;
- наличии в них датчиков, контролирующих изменение факторов окружающей среды;
- способности материалов анализировать ситуацию, возникшую в результате изменения окружающей среды;
- способности реагировать на результаты собственного анализа окружающей среды.
«Интеллектуальные» способности композиционным материалам обеспечивают входящие в состав компоненты с памятью формы, сплавы с магнитными свойствами, волоконно-оптические датчики, пьезоэлектрические датчики, электрореологические жидкости и другие элементы, обладающие несколькими нелинейно изменяющимися характеристиками.
Технологии производства «интеллектуальных» материалов основаны на встраивании перечисленных выше компонентов в полимерную матрицу. Наиболее разработанной является технология создания «интеллектуальных» материалов путем встраивания в их структуру волоконно-оптических датчиков. Такие датчики позволяют контролировать процессы, протекающие во время формования изделий из «интеллектуальных» материалов, а также следить за их состоянием во время эксплуатации и адекватно реагировать на происходящие в них изменения вследствие воздействия окружающей среды.
Наличие волоконно-оптических датчиков позволяет в режиме реального времени получать информацию о поведении изделия из «интеллектуального» материала и уже на начальной стадии обнаружить изменения его структуры задолго до появления необратимых деформаций.
Однако встраивание таких датчиков не проходит бесследно для структуры и свойств композиционного материала, поскольку диаметр оптоволокон на порядок и более превышает диаметр основных армирующих волокон в материале, что приводит к возникновению в нем внутренних напряжений.
Полимерные материалы, армированные волоконно-оптическими датчиками, относятся к «интеллектуальным» материалам первого поколения. Они способны реагировать на воздействие внешней среды путем выработки сигнала. Решение же по результатам анализа этого сигнала принимает человек с помощью ЭВМ, т.е. собственного «интеллекта» материалам первого поколения еще недостаточно для того, чтобы адекватно отреагировать на вызовы окружающей среды.
Современные «интеллектуальные» материалы не только способны анализировать уровень воздействия окружающей среды, но и адаптироваться к ее изменению. При создании таких материалов в их структуру встраиваются не только датчики, но и актюаторы, которые вносят в структуру материала изменения на основе сигналов, полученных от датчиков. Такое поведение «интеллектуальных» материалов достигается, например, использованием в их составе металлических волокон или лент с памятью формы, способных к обратимому изменению первоначальной формы и размеров за счет термоупругого мартенситного превращения.
Реакцией таких сплавов на изменение температуры является изменение формы при нагревании: криволинейное волокно может выпрямляться, а при охлаждении вновь принимать первоначальную форму. Будучи встроенным в структуру полимерного композита, оно «заставляет» и его принимать соответствующую форму и размеры. Внутри металлов «с памятью» формы при ее изменении возникают огромные напряжения, достигающие более 100 МПа.
Кроме металлов «с памятью» формы, применяются и полимеры, способные «запоминать» свою конфигурацию и изменять объем при изменении напряженного состояния.
Еще один способ создавать «интеллектуальные» материалы заключается в встраивании в их структуру капсул размером около 1 мкм с магнито- и электрореологической жидкостью, в которой содержатся сегнетоэлектрические и электретные частицы.
Использование в структуре «интеллектуального» материала керамических волокон с пьезоэлектрическими свойствами позволяет создавать материалы с виброгасящими свойствами.
В качестве актюаторов используют также полимеры, изменяющие свой объем под воздействием электрического напряжения, а также материалы, способные преобразовывать электрическую энергию в механическую и наоборот.
Создание «интеллектуальных материалов» на базе полимеров открывает принципиально новые возможности разработки современной техники. Их использование позволяет эксплуатировать эту технику при критических нагрузках в условиях, когда никакие другие способы контроля состояния материала и корректирующего воздействия на него не могут быть использованы по конструктивным или технологическим причинам.
В настоящее время «интеллектуальные» армированные полимерные композиты используются, главным образом, в конструкциях летательных аппаратов и другой техники, от жизнеспособности которой зависят возможности выполнения стратегических задач.
Так, использование обшивки боевых самолетов СУ-27М, СУ-47, СУ-35, выполненной из «интеллектуальных» полимерных композитов, делает их менее уязвимыми, т.к. снижает уровень радиолокационного обнаружения противником. Применение «интеллектуальных» материалов позволяет создать самолеты с аэроактивными крыльями, способными изменять свою форму согласно условиям полета. Первые образцы таких летательных аппаратов уже существуют.
При снижении стоимости этих материалов станет возможным их использование и для создания других конструкций. Это направление весьма перспективно, несмотря на высокую стоимость «интеллектуальных» полимерных композитов, т.к. пока не имеет достойной конкуренции при разработке принципиально новой техники.
Применение армированных пластиков
Благодаря уникальным технологическим и эксплуатационным свойствам армированные волокнистыми наполнителями пластики находят широкое применение в различных отраслях экономики: в авиа- и ракетостроении, автомобиле- и судостроении, строительстве и в энергомашиностроении, для производства спортивного инвентаря и продукции культурно-бытового назначения, медицинских изделий, произведений искусства и др.
Первыми армированными пластиками, нашедшими широкое промышленное применение, были стеклопластики. Объемы их использования и сегодня намного опережают применение других армированных пластмасс. Мировое потребление стеклопластиков достигло 9 млн. т и продолжает расти в связи с развитием сырьевой базы и появлением новых областей применения.
Особенно интенсивно растет использование стеклопластиков на основе термопластичных полимеров, что связано с относительной простотой утилизации отходов и отработавших свой ресурс изделий из этих материалов. Такой опережающий рост потребления стеклопластиков на термопластичной матрице характерен, прежде всего, для стран Западной Европы, где вопросам защиты окружающей среды (в том числе и от отходов) уделяется большое внимание.
Основными потребителями стеклопластиков являются США (2200 тыс. тонн в год) и страны Западной Европы (также 2200 тыс. тонн в год).
Применение стеклопластиков началось в конце 40-х годов прошлого столетия в конструкции самолетов. Вскоре они нашли рациональное применение не только в авиации, но и в судо- и автомобилестроении. В настоящее время корпуса практически всех маломерных судов длиной до 20 м (моторных и парусных лодок, яхт и др.) изготавливают из стеклопластиков. Такие корпуса помимо высоких эстетических свойств, обладают при малой массе чрезвычайно высокими прочностью, жесткостью, долговечностью и надежностью. Кроме этого, они обладают высокой герметичностью, водостойкостью, коррозионной стойкостью и другими преимуществами.
Применение армированных пластиков в автомобилестроении не ограничивается тюнингом и производством невидимых деталей, где эти материалы давно и успешно используются. В середине прошлого века в Германской демократической республике из стеклопластиков изготавливали серийно кузов автомобиля «Трабант». В настоящее время многие автомобильные фирмы изготавливают из стеклопластиков детали кузова. Например, кузов автомобиля Honda Ridgeline pickup 2005 года изготавливается всего из 7 стеклопластиковых деталей. Аналогичный стальной кузов сваривается из 100 элементов и весит на 30 % больше.
Широко используются стеклопластики для изготовления деталей внутренней облицовки автобусов, троллейбусов, вагонов метро и электропоездов благодаря своим антивандальным свойствам, устойчивости к воздействию УФ, воды и других сред, а также высокой огнестойкости.
Несколько позже, в начале 50-х годов, на стеклопластик обратили внимание архитекторы и строители, которых привлекли неограниченные возможности цветовых и геометрических решений, связанные с использованием этих материалов. Стеклопластики позволяют архитектору рационально и экономично создавать требуемые формы, цветовые решения и фактуру поверхности, дают возможность полнее реализовать творческие замыслы.
В последние годы из стеклопластиков изготавливают изделия санитарно-технического и спортивного назначения. Из них производят ванны, бассейны, корпуса фильтров для очистки воды бассейнов, водные горки, всевозможные аттракционы для аквапарков и другое оборудование.
Совсем недавно стеклопластики начали использовать для производства театральных декораций: в прославленной «Мариинке» в Санкт-Петербурге декорации к спектаклям вот уже несколько лет изготавливают именно из этих материалов, что позволяет их сделать долговечнее и красивее, чем из традиционных материалов.
Основные области применения углепластиков связаны с такими их свойствами, как высокие удельная прочность и жесткость, усталостная прочность, тепло- и электропроводность, низкий коэффициент трения, регулируемая анизотропия свойств, устойчивость к термическому и радиационному воздействию. Изделия из этих материалов изготавливаются в виде монолитных конструкций сложной формы.
Изготовление из углепластиков крупногабаритных панелей летательных аппаратов позволяет снизить их массу на 20-40 %, повысить жесткость на 50 %, в несколько раз увеличить выносливость и т.п. Это дает возможность повысить топливную экономичность и уменьшить загрязнение окружающей среды, т.к. более легкий самолет при полете сжигает меньше топлива.
Именно поэтому армированные полимеры и, прежде всего, углепластики заняли преобладающее место в конструкции самолета Боинг 787 (табл. 1).
Таблица 1. Применение различных материалов в самолете Боинг 787

Такое высокое содержание армированных пластиков в новейших самолетах явилось следствием их использования для изготовления фюзеляжа, хвостового оперения, рулей управления, наконечников крыльев, горизонтального стабилизатора и других крупногабаритных и чрезвычайно ответственных узлов и деталей.
Использование армированных пластиков позволило разработчикам лайнеров при их проектировании одновременно конструировать и материал. Учитывая неравномерность нагрузок в различных узлах самолета, они спроектировали их с дифференцированной толщиной. Так, толщина стенок фюзеляжа из углепластика в разных его сечениях составляет от 25 мм в области дверных проемов до 12 мм в местах стыковки топливных отсеков и до 2,5 мм в верхней его части.
Использование армированных пластиков благодаря технологической простоте позволяет изготавливать летательные аппараты удивительной формы с поверхностью, поражающей своим эстетическим и техническим совершенством.
Важной областью применения армированных полимерных материалов в авиастроении явилось их использование для изготовления радиопрозрачных и радиопоглощающих оболочек военных машин.
Радиопрозрачные материалы должны обладать высокими диэлектрическими характеристиками. Диэлектрическая проницаемость e должна приближаться к значению, характерному для воздуха, а тангенс угла потерь tgd должен быть максимально низким. Этим требованиям удовлетворяют стеклопластики, а также сотовые конструкции, изготовленные из стеклопластиков.
Радиоэкранирующие материалы, наоборот, должны поглощать радиочастотные излучения. Экранирование от радиочастотного излучения достигается применением высокоэлектропроводных материалов - полимерных композитов, армированных углеродными волокнами.
Не осталось в стороне от технологического прогресса и автомобилестроение. Сегодня многие ведущие фирмы стремятся использовать углепластики в конструкции выпускаемой ими техники. Так, фирма Mercedes-Benz изготавливает автомобиль McLaren SLR с углепластиковым кузовом, который весит на 50 % меньше стального и на 30 % меньше алюминиевого. А использование углепластиковых крыши и бампера позволило повысить устойчивость автомобиля BMW M6 на дороге при больших скоростях движения, т.к. позволило опустить центр его тяжести. Фирма Honda изготавливает из углепластика воздухозаборники некоторых моделей автомобилей. Масса таких воздухозаборников на 75 % меньше массы аналогичных деталей из алюминиевого сплава.
Предполагается использование углепластиков для изготовления следующих деталей автомобилей: листовых рессор, лонжеронов и поперечин рам, элементов крепления двигателя и коробки передач, рычагов подвески, карданного вала, шатунов, поддона картера двигателя и др.
Карданный вал автомобиля «Форд Кортина», выполненный в виде одной детали трубчатого сечения из полимерного композита на полиакрилонитрильном связующем и углеродном волокне, имеет массу 5,2 кг, в то время как масса стального вала равна 9 кг. Четырехлистовая стальная рессора автомобиля «Форд Гранада» имеет массу 12,7 кг, а заменяющая ее однолистовая рессора эллиптической формы из углепластика - 2,7 кг.
Для снижения стоимости деталей автомобилей из композитов применяют в качестве армирующих материалов комбинацию из углеродных и стеклянных волокон.
Широко используются углепластики для производства корпусов ракетных двигателей. Такие изделия производят намоткой в виде коконов, они имеют высокую прочность, термостойкость и устойчивость к агрессивным средам.
Лучший спортивный инвентарь с низкой массой и очень высокой прочностью также делают из углепластиков. Это спортивные ракетки, велосипеды, лыжи, хоккейные клюшки, лодки и «каноэ» и др.
Наконец, весьма перспективно использование углепластиков в производстве оборудования для ветряных электростанций, т.к. при замене ими стеклопластика появляется возможность увеличить их высоту с 39 до 44 м при той же общей массе, что имеет большое значение для повышения их эффективности. Поскольку установка ветряных электростанций растет примерно на 25 % в год, а производство ими энергии в 2005 году достигло 60 ГВт, следует ожидать значительного роста применения углепластиков для этих целей.
В целом, все же потребление углепластиков существенно ниже, чем стеклопластиков, и оценивается в 100 000 т, что связано с их более высокой стоимостью.
Создание углеродных волокон с диаметром несколько нанометров даст возможность получить принципиально новые нанокомпозиты с углеродным армирующим наполнителем, обладающие существенно более высокой прочностью, что позволит расширить области их рационального применения в аэрокосмической технике.
В последние годы интенсивно развивается использование базальтопластов с высокой теплостойкостью, отличными триботехническими и диэлектрическими свойствами, хорошей водостойкостью. Сочетание высоких эксплуатационных характеристик с хорошими гигиеническими свойствами позволяет изготавливать из базальтопластов тормозные колодки для автомобилей. Такие колодки не уступают по износостойкости и теплостойкости материалам на основе асбеста, но выгодно отличаются от них безвредностью дисперсных продуктов абразивного износа. Материалы на основе армирующих базальтовых волокон и фенольной смолы сохраняют практически без изменения фрикционные свойства при увеличении температуры вплоть до 450 °С.
Материалы на основе базальта и термореактивного полиимидного связующего, предназначенные для изготовления конструкций с высокими диэлектрическими свойствами могут длительно эксплуатироваться при 300-350 °С даже во влажной атмосфере.
Высокая химическая стойкость позволяет использовать базальтопласты для производства химического оборудования, устойчивого к воздействию агрессивных сред и горячей воды.
Большой класс армированных полимерных компаундов, в которых роль армирующего наполнителя выполняют волокнистые материалы из органических полимеров, составляют органопласты. Обе фазы в таких композитах являются полимерными, что и определяет их отличие от других армированных пластиков.
Композиты, армированные высокопрочными, предельно ориентированными полимерными волокнами, отличаются низкой плотностью и высокими прочностными свойствами, а также рядом специфических свойств и широко используются как чрезвычайно прочные материалы для изготовления крупногабаритных изделий с низкой массой. В качестве высокопрочных наполнителей применяются арамидные волокна кевлар (США), СВМ и армос (Россия) и ряд других. Особенно эффективны волокна из сверхвысокомолекулярного полиэтилена Spectra 900 и Spectra 1000 (США).
Защитные экраны из органопластов на основе высокомодульных волокон устойчивы к механическим и баллистическим ударным нагрузкам, а также к эрозионному воздействию.
Использование органопластов для производства защитных экранов обязано способности полимерных волокон, входящих в их структуру, к значительным деформациям под воздействием пуль и осколков снарядов и поглощению их кинетической энергии.
Технология изготовления органопластов, как и других армированных полимерных композитов, позволяет формовать броню по форме защищаемого объекта. Поэтому из органопластов изготавливают бронеодежду и защитные экраны для транспортных средств и боевой техники. В отличие от металлической, броня из органопластов не образует осколков при поглощении энергии индентора.
Это позволяет использовать органопласты для защиты наиболее уязвимых элементов конструкции летательных аппаратов. Использование органопластов взамен стального бронелиста позволило снизить массу бронезащиты вертолета UH-60A фирмы Сикорского (США) на 953 кг без ухудшения его защищенности от пуль и осколков. Для защиты бронетанковой техники также применяется броня из органопластов, но большей толщины.
Использование волокнистых материалов на основе сверхвысокомолекулярного полиэтилена позволяет повысить трещиностойкость бронезащиты и снизить ее массу по сравнению с органопластами на основе волокна кевлар.
Благодаря высокой прочности при сдвиге и растяжении в направлении, параллельном плоскости листа, органопласты используют для изготовления тонких облицовочных панелей сотовых конструкций. Сотовые панели, изготовленные из органопласта на основе волокна кевлар, использующиеся в аэробусе А350 при производстве пола, стен кабины и других элементов, позволяют снизить их массу на 30-50 %.
Органопласты в сочетании с металлом, в частности с алюминиевыми сплавами, при послойном чередовании обладают исключительными прочностными свойствами. Ресурс обшивок, изготовленных из такого комбинированного материала алюмоорганопласта, более чем в 5 раз превышает ресурс конструкций, изготовленных из традиционных алюминиевых сплавов, при этом масса конструкции снижается на 11-26 %.
Эти и другие области применения вывели органопласты по объемам использования на второе место среди всех армированных полимерных композиционных материалов. Их потребление в 2005 г. по экспертным оценкам составило около 200 000 т.
Одним из видов полимерных композиционных материалов являются армированные полимерные композиты, обладающие уникальными физико-механическими свойствами, благодаря которым они широко используются в различных областях техники, строительстве, на транспорте и других отраслях экономики. Высокие прочностные свойства, долговечность, технологичность и широкий ассортимент позволяют выбрать материал практически для любых областей, удовлетворяющий современным техническим требованиям. Объемы потребления армированных пластиков постоянно растут в связи с расширением областей их применения и разработкой новых сырьевых материалов - связующих и армирующих волокнистых наполнителей. Конструирование и исследование таких материалов во всем мире является приоритетной задачей науки.
Одним из направлений развития композиционных материалов является создание гибридных многослойных армированных пластиков. При разработке гибридных материалов решается задача создания оптимальной анизотропной структуры, которая соответствует условиям эксплуатации изделия из него. Это достигается путем послойной укладки различных армирующих материалов. С помощью таких приемов регулируются упруго-прочностные свойства, тепло- и электротехнические и другие характеристики не только материала, но и готового изделия с учетом его конструкции и условий эксплуатации.
Современные достижения материаловедения, информационных технологий, наличие объемных баз данных позволяют автоматизировать проектирование полимерных композитов.
Дальнейшим развитием композитов является создание «интеллектуальных» полимерных композитов, т.е. материалов, адекватно реагирующих на воздействия извне. Такие материалы способны не только противостоять внешним воздействиям, но и исправлять возникшие повреждения.
По материалам: "Полимерные композиционные материалы" Бобович Б.Б.,
Информационно-коммуникационная система профессионального образования